840 Loader Specifications on 7000 Series Tractor1

W04873

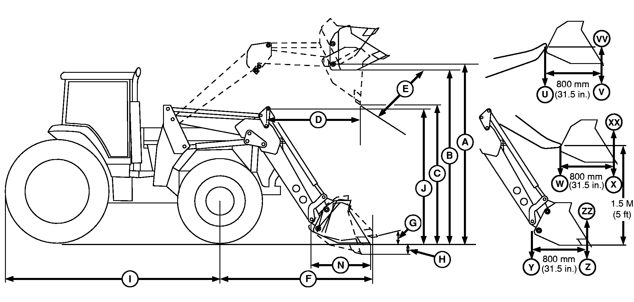
NOTE: ASAE S301.3 replaced S301.2, January 1996. S301.3 measures lift capacity and breakout 800 mm (31.5 in.) forward of bucket pivot pin.

Capacities and dimensions are in compliance with ASAE Standards S301.2 and S301.3.

  ASAE S301.2 ASAE S301.3
Tractor Model 7600 7600
Front Tires 16.9R28 16.9R28
Wheelbase (I) (not measured) (not measured)
Materials Bucket
Width 2450 mm (96.5 in.) 2450 mm (96.5 in.)
Length (N) 747 mm (29.4 in.) 747 mm (29.4 in.)
Mass 348 kg (767 lb) 348 kg (767 lb)
Hydraulic System
Rated Flow 96 L/Min (26 gpm) 96 L/Min (26 gpm)
Maximum Pressure 20 000 kPa (200 bar) (2900 psi) 20 000 kPa (200 bar) (2900 psi)
Lift Height (Maximum)
To Pivot Pin (A) (not measured) 4685 mm (184.4 in.)

 

1(Specifications and design subject to change without notice.)

OUMX005,0001482 -19-05NOV01-1/2


  ASAE S301.2 ASAE S301.3
Clearance
Bucket Level (B) (not measured) 4468 mm (176 in.)
Bucket Dumped (C) 3840 mm (151 in.) 3840 mm (151 in.)
Overall Length (I+F) 6405 mm (252 in.) 6405 mm (252 in.)
Digging Depth (H) 285 mm (11.2 in.) 285 mm (11.2 in.)
Reach
At Maximum Lift Height (D) 1005 mm (39.5 in.) 1005 mm (39.5 in.)
Bucket on Ground (F) 2670 mm (105 in.) 2670 mm (105 in.)
Angles (Maximum)
Dump (E) 60° 60°
Dump at Ground 78° 78°
Rollback (G) 40° 40°
Overall Height
In Carry Position (J) 2597.6 mm (102.3 in.) 2597.6 mm (102.3 in.)
Lift Capacity
To Maximum Height at Pivot Point (U) (not measured) 2260 kg (4972 lb)
To Maximum Height (V) 2160 kg (4752 lb) 2114 kg (4651 lb)
To 1.5 m (59 in.) at Pivot Point (W) (not measured) (not measured)
To 1.5 m (59 in.) (X) (not measured) (not measured)
Breakout Force
At Pivot Point (Y) (not measured) 3378 N (759 lb force)
800 mm (31.5 in.) Forward of Pivot Point (Z) (not measured) 2986 N (671 lb force)
Bucket Rollback Force
At Maximum Height (VV) (not measured) 44 000N (9892 lb force)
At 1.5 m (59 in.) Lift Height (XX) (not measured) 55 000 N (12 365 lb force)
At Ground Level Line (ZZ) (not measured) 22 500 N (11 578 lb force)

 

OUMX005,0001482 -19-05NOV01-2/2