Materials Bucket

NOTE: Materials bucket produced before July 18, 2002 will need to be modified. (See MODIFYING MATERIALS BUCKET in this section.)

The following buckets are available:

Bucket Size and Attachment Compatibility
Width
mm (in.)
Struck Capacity
cu m (cu ft)
Grapple Tines Digging Teeth Bolt-On Wear Edge
721 Loader only
1550 (61) 0.48 (17) X X    
721 and 726 Loader
1850 (73) 0.57 (20) X Xa    
2150 (85) Standard 0.65 (23) X Xa    
2150 (85) Heavy Duty 0.65 (23) X Xa X X
2450 (96) Standard 0.74 (26) Xb Xa    
2450 (96) Heavy Duty 0.74 (26) Xb Xa X X
2300 (91) High Volume 1.1 (39)       X
aAvailable with or without tine holes.
bFive-Tine Round Bale/Silage Grapple available.

 

W02884

OUMX005,0001558 -19-12SEP02-1/2


Modifying Materials Bucket

causym CAUTION: Avoid potentially toxic fumes and dust. Hazardous fumes can be generated when paint is heated by welding, soldering, grinding or using a torch.

Remove paint before heating. (Refer to REMOVE PAINT BEFORE WELDING OR HEATING in Safety section.)

NOTE: If bucket is equipped with a 4-tine grapple, contact your John Deere dealer for additional information regarding removal and modification of grapple mounting frames and bucket.

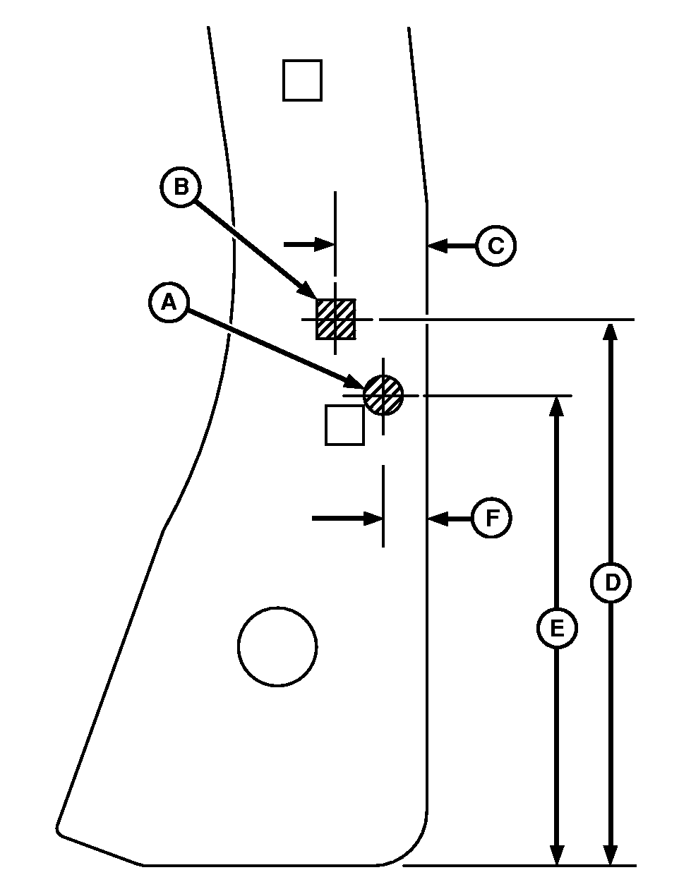
Perform the following procedure on BOTH outer bucket back plates. Left-hand side shown.

1. Measure and mark 248 mm (9-49/64 in.) (D) and 42 mm (1-21/32 in.) (C).

2. Centerpunch and drill a 17.5 mm (11/16 in.) diameter hole (B).

3. File edges of hole to create a square. Square must be large enough to insert square neck of an M16 round head bolt.

4. Measure and mark 213 mm (8-25/64 in.) (E) and 20 mm (25/32 in.) (F).

5. Centerpunch and drill a 18 mm (45/64 in.) diameter hole (A).

6. Paint all exposed surfaces.

W05546


A-Hole Diameter, 18 mm (45/64 in.)
B-Hole Diameter, 17.5 mm (11/16 in.)
C-42 mm (1-21/32 in.)
D-248 mm (9-49/64 in.)
E-213 mm (8-25/64 in.)
F-20 mm (25/32 in.)

OUMX005,0001558 -19-12SEP02-2/2