Forklift

causym CAUTION: To help prevent bodily injury or death from a bale falling on the operator, do not handle round bales with the frame equipped with forklift tines. Frame must be equipped with round bale tines for handling round bales.

To help prevent tractor/loader instability, never exceed the lift capacity of the tractor/loader used with the forklift. Be sure tractor is ballasted correctly. (See Preparing the Tractor section.)

Forklift is used to handle materials on skids or pallets.

Forklift Dimensions
mm (in.)
Tine Width 102 (4)
Tine Length 1220 (48)
Maximum Spacing (Outside Tines) 1220 (48)
Minimum Spacing (Inside Tines) 445 (17.5)

 

W02873
W03320

OUO6038,00014FB -19-01OCT01-1/3


Assembling Tines to Frame

1. Slide pin (A) through frame, bushings on back of tine and lock collar (D).

2. Install 8 x 60 mm spring locking pin (B).

3. Slide tine to desired spacing and tighten collar (D) using M10 x 25 cap screw (C).


A-Pin
B-Spring Locking Pin, 8 x 60 mm
C-Cap Screw, M10 x 25
D-Lock Collar

W04705

Tine Spacing Lock Collar

OUO6038,00014FB -19-01OCT01-2/3


W03306
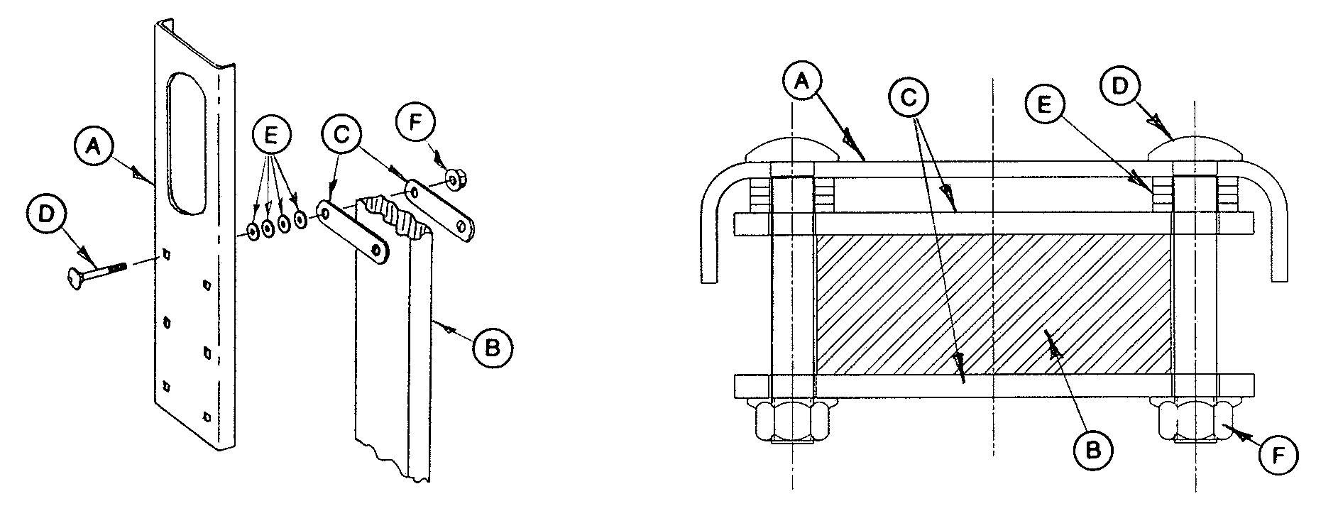
Installing Backstops

Install backstops (A) in high or low position

Install backstop to each tine using four straps (C), four M12 x 80 round-head bolts, (D), flat washers (E) and flange nuts (F). Tighten nuts to specifications.

Specification

Flange Nuts -Torque 95 N·m (70 lb-ft)


A-Backstop
B-Tine
C-Straps (4 used)
D-Round-Head Bolt, M12 x 80 (4 used)
E-Flat Washers
F-Flange Nut, M12 (4 used)

W03320

High Position Shown

OUO6038,00014FB -19-01OCT01-3/3