Installing Hitch Pin Bushings on Ballast Box for Category 1 Quick Coupler Hitch

NOTE: Install bushings on both hitch pins. Right-hand side shown.

1. Install bushing (A) over hitch pin with cross hole as shown.

2. Install bushing (B) as shown.

3. Align holes in bushings with hole in hitch pin and install spring pin (C).

W04939


A-Bushing
B-Bushing
C-Spring Pin

OUO6038,0001573 -19-15MAR02-1/2


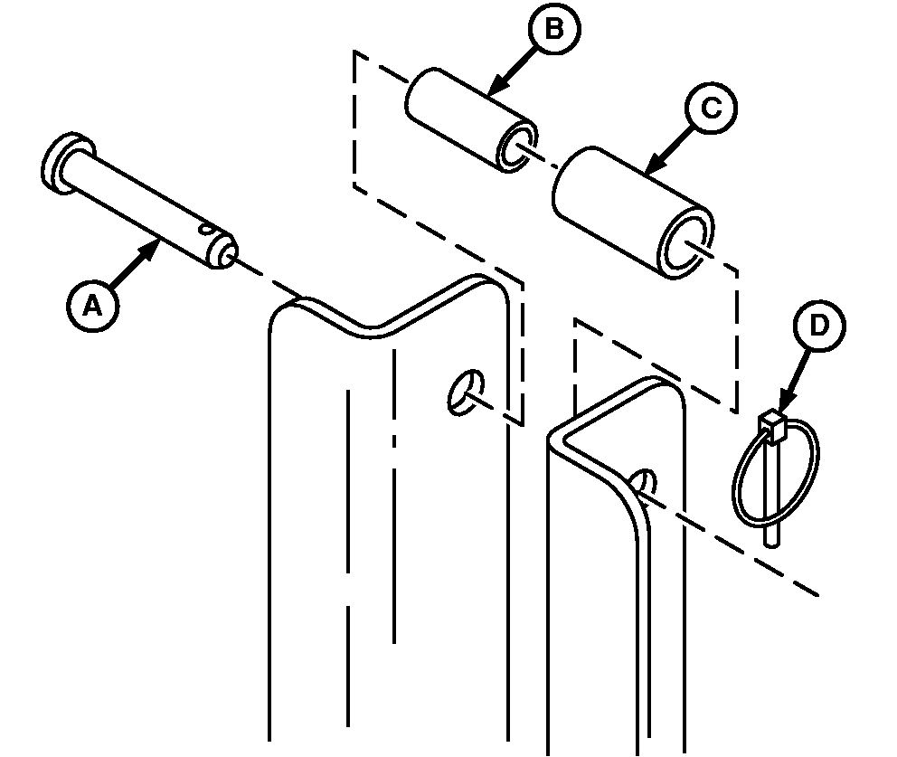
4. Assemble bushings (B and C).

5. Insert center link pin (A) through ballast box mast and bushing assembly. Fasten with quick-lock pin (D).


A-Center Link Pin
B-Bushing (Small)
C-Bushing (Large)
D-Quick-Lock Pin

W05063

OUO6038,0001573 -19-15MAR02-2/2