Adjusting QUIK-CHANGE™ Latch Plates

NOTE: Latch pins have a feature that allows them to drop automatically when the bucket/attachment is attached. The dropped pins allow the operator to attach the bucket/attachment without getting off the tractor. This feature requires adjustment at initial setup.

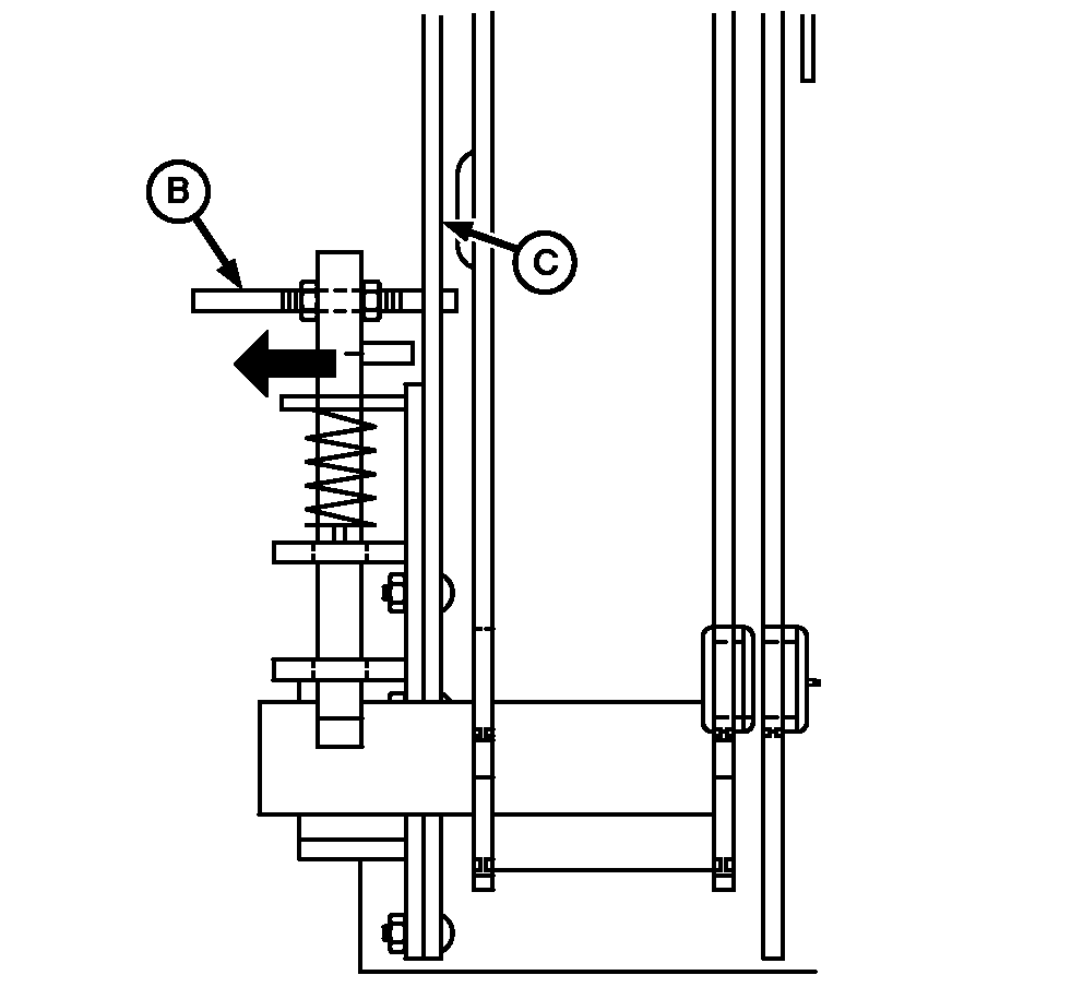
1. Position upper portion of latch plate so stud/handle (B) is centered in slot.

2. Rotate lower portion of latch plate (A) away from bucket/attachment.

3. Tighten hardware to specifications. Latch pins must move freely (up and down) after hardware has been tightened.

Specification

Hardware -Torque 215 N·m (160 lb-ft)

NOTE: If bucket/attachment is loose after attached to loader or a large gap between latch pin and bucket/attachment exists; Loosen latch plate mounting hardware and rotate latch plate toward bucket/attachment to minimize the gap. Do not eliminate gap completely. No gap will prevent the latch pins from automatically engaging when the bucket/attachment is attached.

IMPORTANT: If stud/handle is adjusted too long, it may be damaged when bucket/attachment is detached.

4. Adjust stud/handle length:

a. With latch pin in down position, pull latch stud/handle (B) toward center.

b. Adjust nuts until end of stud/handle is flush with plate (C).

c. Tighten nuts.

W05536
W05537


A-Latch Plate
B-Stud/Handle
C-Plate

OUMX005,000155D -19-24MAY05-1/1