Attaching Loader

1. Drive tractor slowly, straight into loader.

2. Align masts with mounting frames.

3. Engage tractor parking brake and/or place transmission in PARK.

4. Shut off tractor engine and remove key.

W06792

OUMX005,00017B7 -19-14MAY04-1/7


causym CAUTION: To help prevent injury from escaping hydraulic oil under pressure, relieve pressure in the system.

5. Move control lever(s) back and forth and side-to-side (if applicable) several times. (See your tractor Operator's Manual.)

X9811

OUMX005,00017B7 -19-14MAY04-2/7


6. Connect color-coded caps on hoses matching numbers and/or colors on decal by coupler plate.

Key Port Plug/Cap Color Hydraulic Function
A 1 Yellow Bucket Cylinder-Rod End
B 2 Red or Silver Bucket Cylinder-Head End
C 4 Green Lift Cylinder-Head End
D 3 Black Lift Cylinder-Rod End
E   Orange Attachment Cylinder-Head End
F   Blue Attachment Cylinder-Rod End

 

W06722

Couplers with Optional Third-Function Shown

OUMX005,00017B7 -19-14MAY04-3/7


NOTE: It may be necessary to drive tractor forward slowly to keep masts/frames in line while performing the following procedures.

7. Be sure end plates (B) on each mounting frame are aligned with inside guide of each mast (A).

8. Start tractor engine.

9. Release parking brake and/or place transmission in NEUTRAL.


A-Mast
B-End Plate

W06793

Right-Hand Side Shown

OUMX005,00017B7 -19-14MAY04-4/7


IMPORTANT: Make sure masts are fully seated on frame tubes.

10. Slowly retract lift cylinders. Masts (C) will lower onto mounting frames and parking stand (B) will raise to front weight bracket (A).

11. Dump bucket 10°-20°.

12. Retract lift cylinders raising front wheels 25-50 mm (1-2 in.) off ground. (Do not retract lift cylinders completely.)


A-Front Weight Bracket
B-Parking Stand
C-Mast (1 each side)

W06794
W06782

OUMX005,00017B7 -19-14MAY04-5/7


IMPORTANT: Make sure there is no dirt or debris between bottom of front weight bracket (B) and bottom bar (C) of parking stand.

Top bar (A) of parking stand should rest on top of front weight bracket with at least 20 mm (0.787 in.) of engagement.

13. Check that bottom bar (C) of frame is securely hooked against bottom of front weight bracket (B) and top bar (A) rests on top of front weight bracket with engagement within specification. If engagement is not within specification, see CHECKING PARKING STAND/WEIGHT BRACKET ENGAGEMENT in Service section.

Specification

Top Bar-to-Front Weight Bracket Engagement -Dimension 20 mm (0.787 in.)


A-Top Bar
B-Weight Bracket
C-Bottom Bar
D-Dimension, 20 mm (0.787 in.)

W06583
W06850

OUMX005,00017B7 -19-14MAY04-6/7


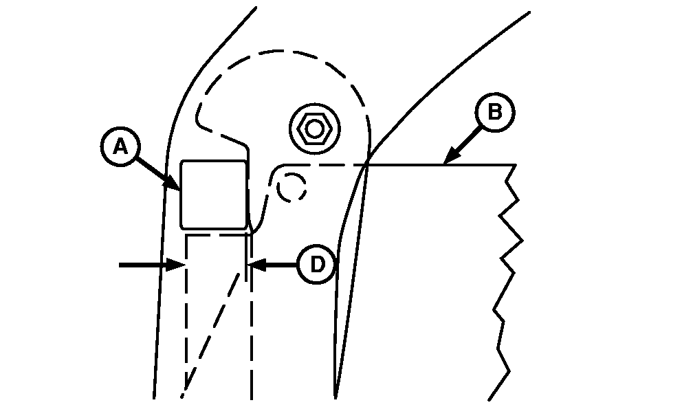
IMPORTANT: On both sides, make sure latch (B) is fully seated against brace pad (E) and latch pin (C) is engaged with secondary latch (D).

14. Place latch (B) on both sides of loader in "Locked" position by pulling rearward on handle to engage latch pin (C) with secondary latch (D). Cap screw (A) should contact mast pad (F). If not, see "Checking Parking Latch Cap Screw Adjustment" procedure in EVERY 50 HOURS of Lubrication and Maintenance section.

15. Extend lift cylinders and lift bucket from ground to ensure loader is properly mounted.

16. Install ballast box. (See Preparing the Tractor section.)

17. Engage tractor parking brake and/or place transmission in PARK.

18. Shut off tractor engine and remove key.

W06584

Left-Hand Side Shown


A-Cap Screw
B-Latch
C-Latch Pin
D-Secondary Latch
E-Brace Pad
F-Mast Pad

OUMX005,00017B7 -19-14MAY04-7/7