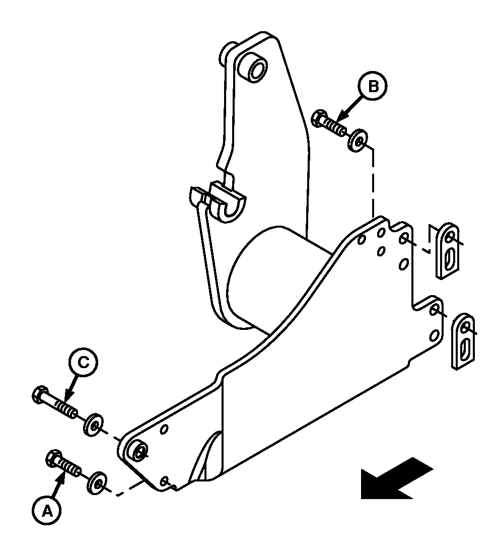
Mounting Frame Hardware-5103, 5203, 5303, 5403, 5210, 5220, 5310 and 5320 Tractors (Except Narrow Tractors Without Cabs)

IMPORTANT: Help prevent damage to the tractor or loader caused by operating with loose mounting hardware. Tighten loader mounting frame hardware after the first 10 hours of operation and again after every 50 hours.

Mounting Frame Hardware
Location Description Size Torque Specification
A Cap Screw
Flat Washer
M16 x 50
17 x 34 x 4 mm
275 N·m
(200 lb-ft)
B Cap Screw
Flat Washer
M20 x 65
21 x 42 x 5 mm
530 N·m
(400 lb-ft)
C Cap Screw
Flat Washer
M16 x 90
17 x 34 x 4 mm
275 N·m
(200 lb-ft)

 


A-Cap Screw, M16 x 50
B-Cap Screw, M20 x 65
C-Cap Screw, M16 x 90

W06879
W03175

OUO6038,00001B6 -19-27NOV07-1/1