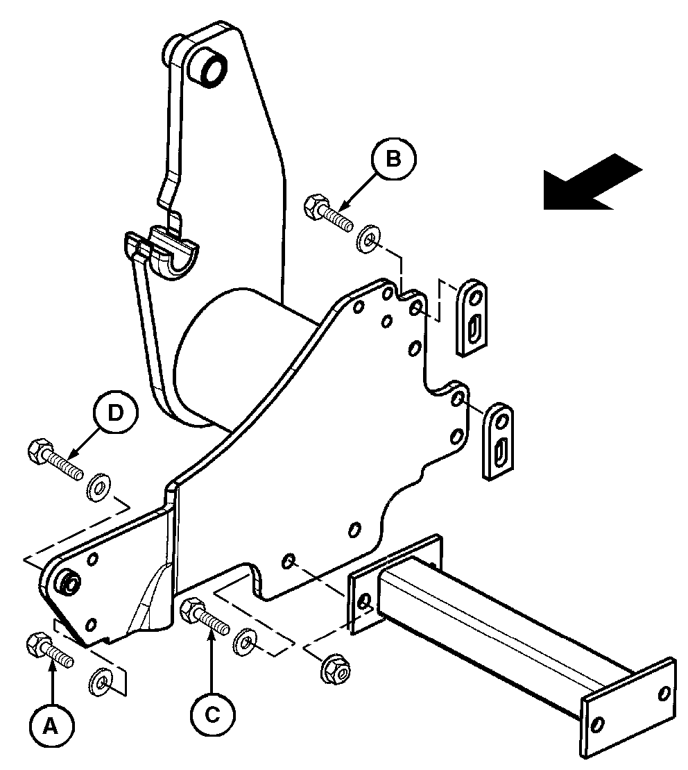
Mounting Frame Hardware-5410, 5420, 5510, and 5520 Tractors (Except Narrow Tractors Without Cabs)
IMPORTANT:
Help prevent damage to the tractor or loader caused by operating with loose mounting hardware. Tighten loader mounting frame hardware after the first 10 hours of operation and again after every 50 hours.
| Mounting Frame Hardware |
| Location |
Description |
Size |
Torque Specification |
| A |
Cap Screw Flat Washer |
M16 x 50 17 x 34 x 4 mm |
275 N·m (200 lb-ft) |
| B |
Cap Screw Flat Washer |
M20 x 65 21 x 42 x 5 mm |
530 N·m (400 lb-ft) |
| C |
Cap Screw Flat Washer Flange Nut |
M20 x 65 21 x 42 x 5 mm M20 |
530 N·m (400 lb-ft) |
| D |
Cap Screw Flat Washer |
M16 x 70 17 x 34 x 4 mm |
275 N·m (200 lb-ft) |
A-Cap Screw, M16 x 50
B-Cap Screws, M20 x 65
C-Cap Screws, M20 x 65
D-Cap Screw, M16 x 70
|
|