Mounting Frame Hardware-5325N Narrow Tractor

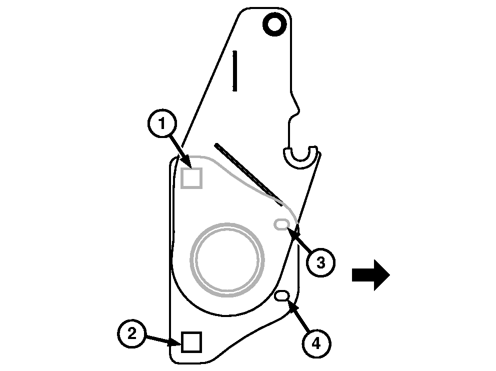
IMPORTANT: Help prevent damage to the tractor or loader caused by operating with loose mounting hardware. Tighten loader mounting frame hardware after the first 10 hours of operation and again after every 50 hours.

Tighten hardware to specification in sequence shown.

Specification

Hardware -Torque 610 N·m (450 lb-ft)

W07057

Torque Sequence

OUO6077,0001905 -19-14JAN07-1/1