Install Mounting Frames

causym CAUTION: Approximate weight of each mounting frame is 45 kg (100 lbs). To help prevent personal injury from falling or shifting mounting frame, use a lifting device to position frame.

All Except 5105, 5205, 5225 and 5325 Tractors

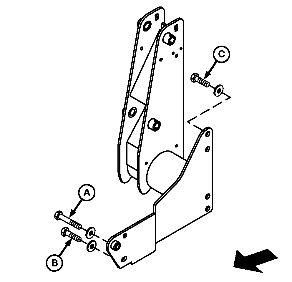
1. Install mounting frames on tractor using one M16 x 70 cap screw and washer (A), two M16 x 50 cap screws and washers (B), four M20 x 65 cap screws and washers (C), and spacers (D).

IMPORTANT: Help prevent damage to tractor or loader caused by operating with loose mounting hardware. Tighten loader mounting frame hardware after the first 10 hours of operation and every 50 hours thereafter.

2. Tighten hardware to specifications.

Specification

Hardware (A and B), M16 -Torque 275 N·m (203 lb-ft)
Hardware (C), M20 -Torque 530 N·m (400 lb-ft)


A-Cap Screw and Washer, M16 x 70
B-Cap Screws and Washers, M16 x 50 (2 used)
C-Cap Screws and Washers, M20 x 65 (4 used)
D-Spacer (2 used)

TS226
W06456

Right-Hand Side Shown

W06457

Left-Hand Side Shown

OUO6038,0001A8C -19-03DEC04-1/4


5105 and 5205 Tractors

causym CAUTION: Avoid potentially toxic fumes and dust. Hazardous fumes can be generated when paint is heated by welding, soldering, grinding or using a torch.

Remove paint before heating. (Refer to REMOVE PAINT BEFORE WELDING OR HEATING in Safety section.)

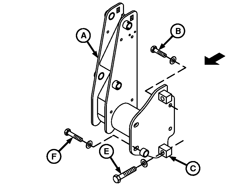
1. Cut off material (A) (shaded area) from each mounting frame. Paint any exposed surfaces.

2. Remove paint around mounting holes (B) on inside surface of mounting frames.

W06499


A-Material (remove)
B-Mounting Holes

OUO6038,0001A8C -19-03DEC04-2/4


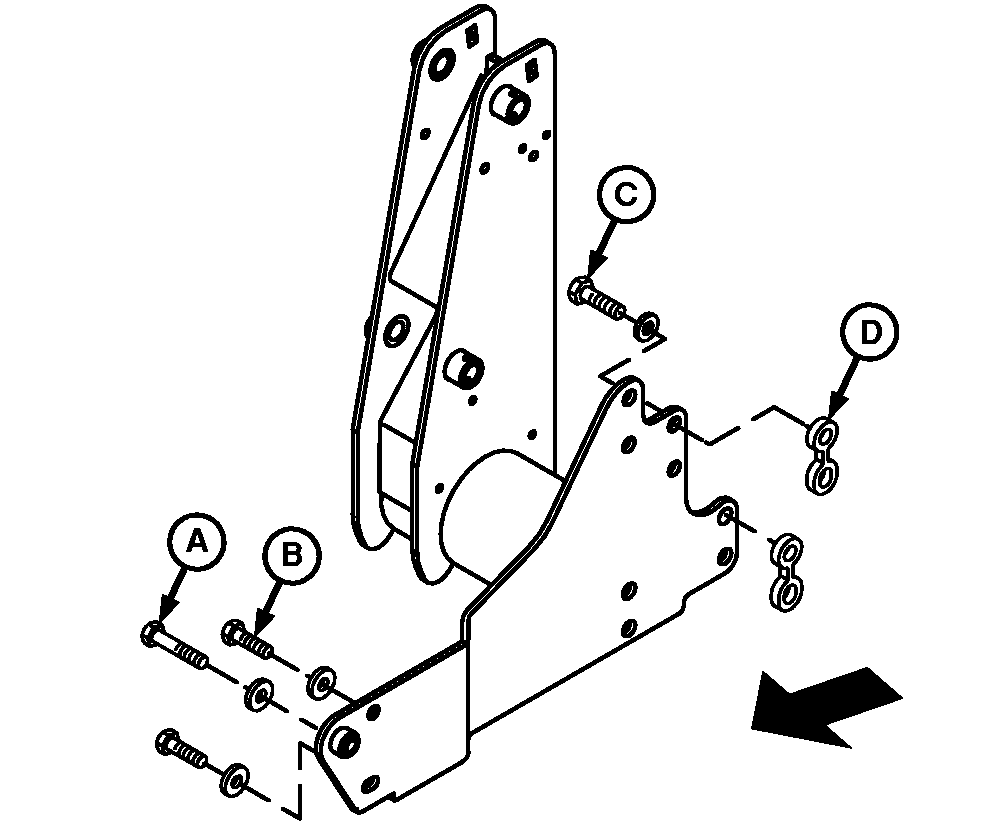
3. Install mounting frames on tractor using one each M16 x 70 cap screws and washers (A), one each M16 x 50 cap screw and washer (B), and four each M20 x 65 cap screw and washer (C).

IMPORTANT: Help prevent damage to tractor or loader caused by operating with loose mounting hardware. Tighten loader mounting frame hardware after the first 10 hours of operation and every 50 hours thereafter.

4. Tighten hardware to specifications.

Specification

Hardware (A and B), M16 -Torque 275 N·m (203 lb-ft)
Hardware (C), M20 -Torque 530 N·m (400 lb-ft)


A-Cap Screws and Washers, M16 x 70
B-Cap Screw and Washer, M16 x 50
C-Cap Screw and Washer, M20 x 65 (4 used)

W06458

Right-Hand Side Shown

W06459

Left-Hand Side Shown

OUO6038,0001A8C -19-03DEC04-3/4


5225 and 5325 Tractors

1. Install mounting frame (A) on tractor as shown:

a. Install two M20 x 90 cap screws with washers (E) through top and bottom blocks (C) into transmission housing.

b. Place spacers (D) between tractor frame and mounting frame, at front mounting holes, and install two M20 x 100 flange head cap screws (F).

c. Install M20 x 55 cap screws and washers (B) in rear mounting holes.

IMPORTANT: Help prevent damage to tractor or loader caused by operating with loose mounting hardware. Tighten loader mounting frame hardware after the first ten hours of operation and every 50 hours thereafter.

2. Tighten mounting hardware to specification in the sequence shown.

Specification

Mounting Hardware (E and F) -Torque 610 N·m (450 lb-ft)
Mounting Hardware (B) -Torque 530 N·m (390 lb-ft)


A-Mounting Frame
B-Cap Screw and Washer, M20 x 55 (2 used)
C-Block (2 per mounting frame)
D-Spacer (2 used)
E-Cap Screw and Washer, M20 x 90 (2 used)
F-Flange Head Cap Screws, M20 x 100

W06867

Right-Hand Side Shown

W07027

Left-Hand Side Shown

W07093

Torque Sequence

OUO6038,0001A8C -19-03DEC04-4/4