Detaching Loader (If Equipped with Parking Stands)

causym CAUTION: To help prevent personal injury caused by falling or shifting loader, always detach on a hard level surface. Loader MUST be equipped with a bucket and parking stands.

1. Be sure loader is equipped with materials bucket.

2. Remove ballast box, if equipped. (See procedure in this section.)

3. Start tractor engine.

4. Dump bucket approximately 45° below level.

5. Lower bucket to ground, applying slight down pressure. Do not raise tires off ground.

6. Engage parking brake and/or place transmission in PARK .

7. Shut off engine and remove key.

W14000
W03145

OUO6038,0001B12 -19-13APR06-1/6


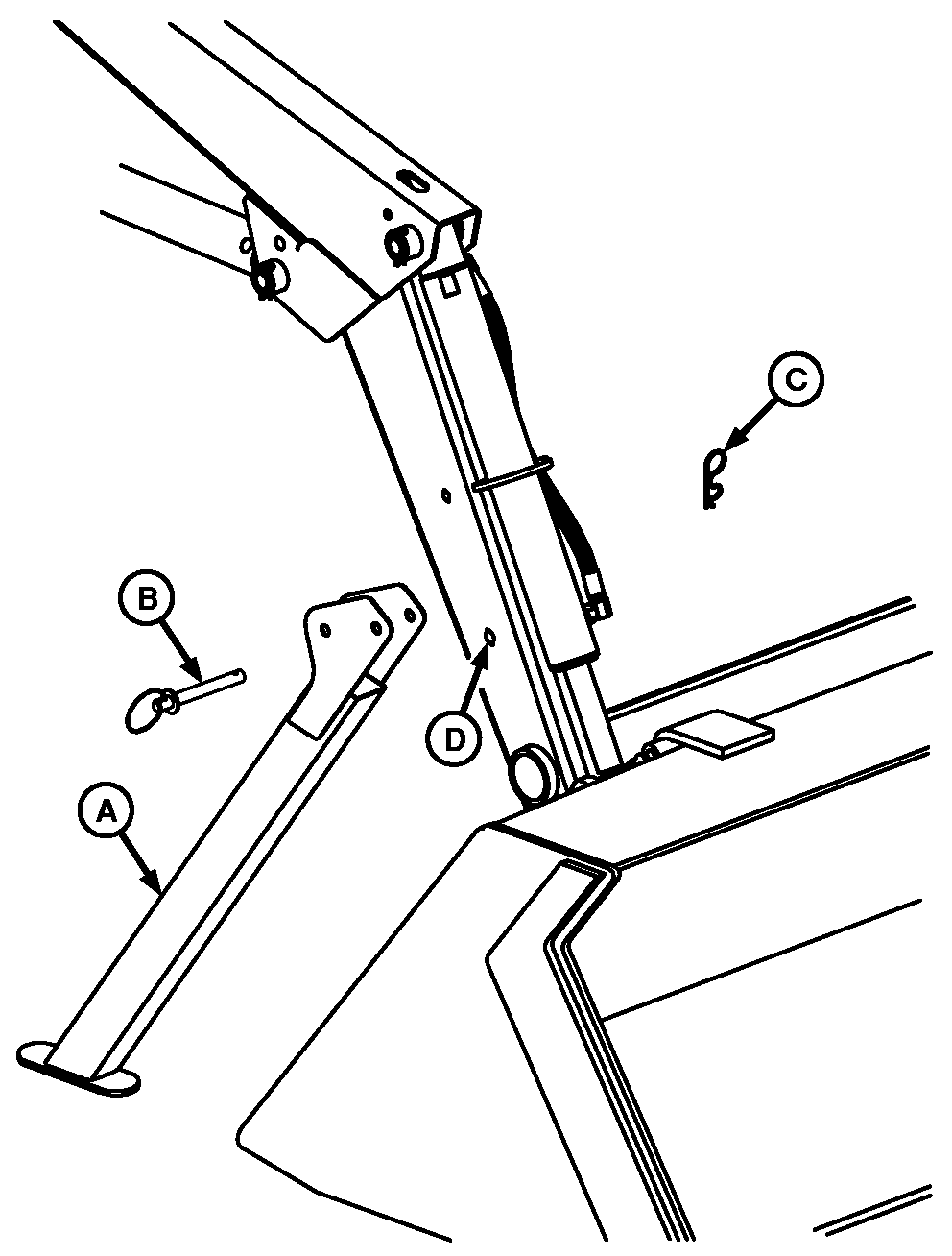
NOTE: Install parking stands on BOTH sides of loader. Right-hand side is shown.

Use boards under stands to prevent loader from sinking in soft ground.

8. Attach parking stand (A) using pins (B and C) through hole (D).

9. Start tractor engine.

10. place transmission in NEUTRAL , to allow tractor movement, and release parking brake.

11. Raise loader and roll back bucket until stands contact ground and pressure is off of loader mast pins.

12. Shut off tractor engine and remove key.


A-Parking Stand
B-Pin
C-Spring Locking Pin
D-Hole Location

W05843

OUO6038,0001B12 -19-13APR06-2/6


causym CAUTION: Help prevent personal injury from falling lift cylinders, secure lift cylinder to loader arm using straps or wire at locations (A and C) before removing pins (B).

13. Wrap wire or support straps around boom and cylinder at locations (A and C).

14. Remove pins (B) from both mounting frames.


A-Loader Arm
B-Pins
C-Lift Cylinder

W06864

OUO6038,0001B12 -19-13APR06-3/6


causym CAUTION: To avoid injury from escaping hydraulic oil under pressure, relieve pressure in the system before disconnecting hydraulic oil lines.

15. Move control lever(s) up and down and side-to-side (if applicable) several times to relieve hydraulic system pressure.

X9811
W07090

Multi-Function Control Lever

W05809

SCV Levers

OUO6038,0001B12 -19-13APR06-4/6


16. Couplers at ICV: Disconnect four hoses (A) from valve.


A-Loader Hoses

W06446

OUO6038,0001B12 -19-13APR06-5/6


Tractor with rear SCV:

a. Remove upper hose bracket (B) on loader mast by removing spring locking pin (A).

b. Remove lower hose bracket under tractor foot platform by removing flange nut, cap screw and washer (C).

c. Disconnect hydraulic hoses in back of tractor.

17. Place caps on hoses and couplers.

18. Store hoses on lift cylinder, DO NOT lay them on the ground.

19. Start tractor engine.

20. Disengage tractor parking brake and place transmission in REVERSE. Slowly move away from loader.


A-Spring Locking Pin
B-Hose Brackets
C-Cap Screw, Washer and Flange Nut, M10 x 25

W06465
W06553
W00212

5000 Series-Separated Couplers Shown

OUO6038,0001B12 -19-13APR06-6/6