Prepare the Loader

causym CAUTION: To help prevent bodily injury from falling loader, support with overhead hoist during disassembly and assembly.

IMPORTANT: Avoid crushing oil lines DO NOT wrap chains around torque tube. Chain will crush oil lines making replacement necessary.

TS219

OUO6038,0001B17 -19-18OCT04-1/4


W06891
W06892


A-Bucket/Attachment
B-Banding
C-Parts Container (optional)


D-Shipping Brace
E-Bucket Timing Rod (shipping position)


F-Lifting Straps
G-Hold-Down Strap (1 each side)


H-Safety Stands

1. Remove and discard banding (B) and shipping brace (D). Remove parts container(s) (C) and bucket/attachment (A) from loader assembly.

2. Lay loader assembly down on safety stands (H) using an overhead hoist with lifting straps (F) attached securely on both sides of loader.

3. Remove bucket timing rod (E) from inside boom. Remove and discard hold-down straps (G), wire, and wood pallet.

OUO6038,0001B17 -19-18OCT04-2/4


4. Cut paint mask rings off all cylinders.

W06866

OUO6038,0001B17 -19-18OCT04-3/4


NOTE: Use wire from dunnage to hold lift cylinder in place.

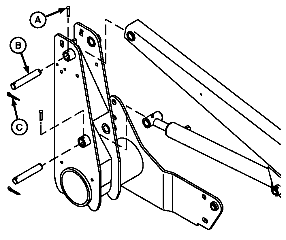
5. Detach mounting frames from loader boom and cylinders by removing cotter pins (C) and pins (A and B).


A-Pin (2 used)
B-Pin (2 used)
C-Cotter Pin (2 used)

W06448

OUO6038,0001B17 -19-18OCT04-4/4