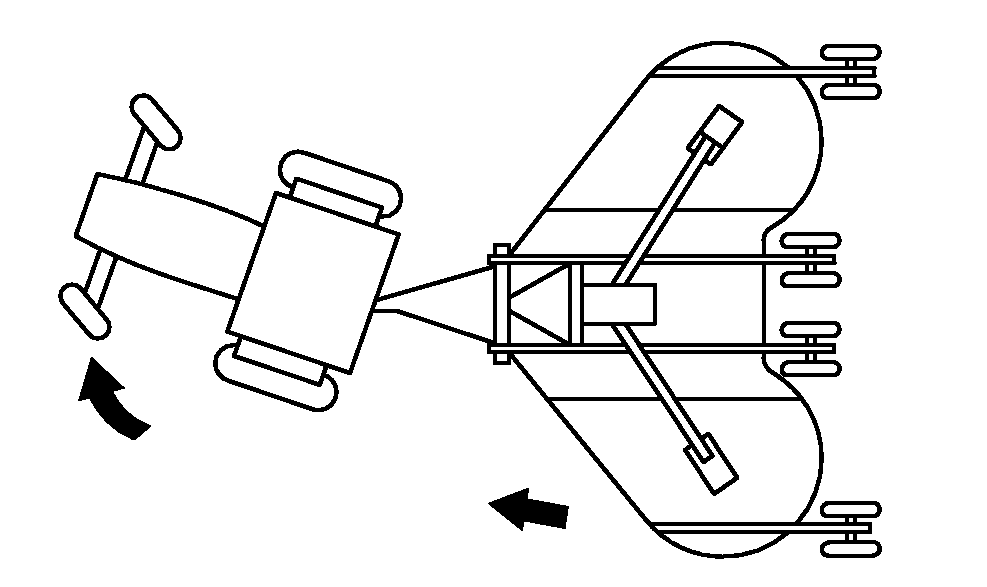
Making Turns

IMPORTANT: Constant velocity driveline joint can be damaged by making tight turns, DO NOT exceed 80 degree angle on driveline during turns.

The HX15 and CX15 Rotary Cutters are 4.57 m (15 ft) wide.

The HX20 and CX20 Rotary Cutters are 6.09 m (20 ft) wide.

Watch for obstructions and DO NOT exceed 80 degree angle during turns.

IMPORTANT: To avoid tractor/rotary cutter damage, be sure tractor tires do not contact rotary cutter hitch or front sill when turning.

DO NOT turn too tight, tire contact with rotary cutter WILL DAMAGE tractor tires.

W04284

OUO6077,000145B -19-05APR06-1/1