Replacing Blades-Bar-Type Holder

causym CAUTION: Before servicing machine, refer to PRACTICE SAFE SERVICE PROCEDURES at the beginning of this section.

IMPORTANT: Suction blades have a cutting edge on one side only, DO NOT move from one blade holder to another. If worn or broken, blades MUST be replaced. Note blade rotation when installing blades. (See DIRECTION OF BLADE ROTATION in this section.)

Operating with loose blade hardware will damage the blade holder and blades. Whenever the blades have been removed or replaced, blade hardware MUST also be replaced. Always use genuine John Deere parts. Check blade hardware torque after the first eight hours of operation and every 50 hours thereafter.

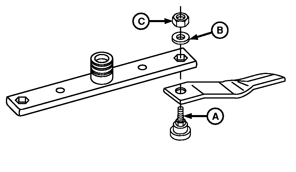
1. Manually rotate driveline to align lock nut with access hole in top of deck. Remove hardware (A-D). Discard mounting hardware.

2. Attach blade using new hardware (A-D).

3. Tighten hardware to specifications.

Specification

Blade Mounting Hardware -Torque 850 N·m (627 lb-ft)


A-Blade Bolt
B-Washer, 25 x 50 x 6 mm
C-Lock Nut
D-Spacer, 26 x 38 x 20 mm

W04754

Wing

W04755

Center Body

W04445

Single Blade

W04446

Dual Blades

OUO6077,000147E -19-23APR07-1/1