Attaching Loader

1. Drive tractor slowly, straight into loader.

2. Align masts with mounting frames.

3. Engage tractor parking brake and/or place transmission in PARK.

4. Shut off tractor engine and remove key.

W07046

OUO6038,0001B4B -19-01DEC05-1/9


causym CAUTION: To help prevent injury from escaping hydraulic oil under pressure, relieve pressure in the system.

5. Move control lever(s) back and forth and side-to-side (if applicable) several times. (See your tractor Operator's Manual.)

X9811

OUO6038,0001B4B -19-01DEC05-2/9


causym CAUTION: Help prevent personal injury caused by unexpected loader movement. Anticipated loader movement responds to control lever only if hoses are connected correctly.

NOTE: Hose connections are identified by matching the color-coded cap on the hose end with the same color-coded plug on the control valve coupler. If caps are missing, see IDENTIFYING HOSE CONNECTIONS in Service section.

6. Connect hoses using color-coded dust caps matching numbers and/or colors on decal by coupler plate.

W06992

790 Tractor

W06995

3203, 3000 TWENTY and 4000 Series Tractors with Third-Function

OUO6038,0001B4B -19-01DEC05-3/9


IMPORTANT: To prevent hose damage, be sure hoses are routed to avoid interference with drag link.

300X Loader on 870 tractor and 300CX Loader on 970 tractor with drag link:

a. Route two hoses on each side of drag link (A).

b. Turn steering wheel from side-to-side to be sure there is no interference with drag link.


A-Drag Link

W06935

OUO6038,0001B4B -19-01DEC05-4/9


NOTE: It may be necessary to drive tractor forward slowly to keep masts/frames in line while performing the following procedures.

7. Be sure end plates (B) on each mounting frame are aligned with inside guide of each mast (A).

8. Start tractor engine.

9. Release parking brake and/or place transmission in NEUTRAL.


A-Mast
B-End Plate

W07060

Right-Hand Side Shown

OUO6038,0001B4B -19-01DEC05-5/9


IMPORTANT: Make sure masts are fully seated on frame tubes.

10. Slowly retract lift cylinders. Masts (C) will lower onto mounting frames and parking stand (B) will raise to front weight bracket (A).

11. Dump bucket 10°-20°.

12. Retract lift cylinders raising front wheels 25-50 mm (1-2 in.) off ground. (Do not retract lift cylinders completely.)


A-Front Weight Bracket
B-Parking Stand
C-Mast (1 each side)

W07063
W07042

OUO6038,0001B4B -19-01DEC05-6/9


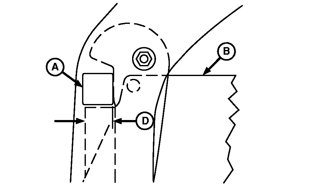
IMPORTANT: Make sure there is no dirt or debris between bottom of front weight bracket (B) and bottom bar (C) of parking stand.

Top bar (A) of parking stand should rest on top of front weight bracket with at least 25 mm (1.00 in.) of engagement.

13. Check that bottom bar (C) of parking stand is securely hooked against bottom of front weight bracket (B) and top bar (A) rests on top of front weight bracket with engagement within specification. If engagement is not within specification, see CHECKING PARKING STAND/WEIGHT BRACKET ENGAGEMENT in Service section.

Specification

Top Bar-to-Front Weight Bracket Engagement -Dimension 25 mm (1.00 in.)


A-Top Bar
B-Weight Bracket
C-Bottom Bar
D-Dimension, 25 mm (1.00 in.)

W07064
W06850

OUO6038,0001B4B -19-01DEC05-7/9


IMPORTANT: On both sides, make sure latch (B) is fully seated against brace pad (E) and latch pin (C) is engaged with leaf spring (D).

14. Place latch (B) on both sides of loader in "Locked" position by pulling rearward on handle to engage latch pin (C) with leaf spring (D). Cap screw (A) should contact mast pad (F). If not, see "Checking Parking Latch Cap Screw Adjustment" procedure in EVERY 50 HOURS of Lubrication and Maintenance section.


A-Cap Screw
B-Latch
C-Latch Pin
D-Leaf Spring
E-Brace Pad
F-Mast Pad

W06981

Left-Hand Side Shown

OUO6038,0001B4B -19-01DEC05-8/9


15. 300 Loader on 770/790 Tractors: Make sure hose bundle (A) is routed to avoid contact with loader or tractor.

300 Loader on 3203 Tractor; 300X and 300CX Loaders: Make sure hose bundle (A) is routed to avoid contact with tractor. If hose support (B) (if equipped) was previously detached from parking stand (C), reinstall it using spring locking pin (D).

16. Extend lift cylinders and lift bucket from ground to ensure loader is properly mounted.

17. Install ballast box. (See Preparing the Tractor section.)

18. Engage tractor parking brake and/or place transmission in PARK.

19. Shut off tractor engine and remove key.


A-Hose Bundle
B-Hose Support
C-Parking Stand
D-Spring Locking Pin

W06978

300 Loader Hose Routing on 770/790 Tractor

W07023

300 Loader on 3203 Tractor, 300X and 300CX (If Equipped)

OUO6038,0001B4B -19-01DEC05-9/9