Installing Hitch Pin Bushings on Ballast Box for Category 1 Quick Coupler HitchNOTE: Install bushings on both hitch pins. Right-hand side shown.  W04939-UN-22JUL02
A - Bushing B - Bushing C - Spring Pin Install bushing (A) over hitch pin with cross hole as shown.
Install bushing (B) as shown. Align holes in bushings with hole in hitch pin and install spring pin (C).  W05063-UN-05FEB02
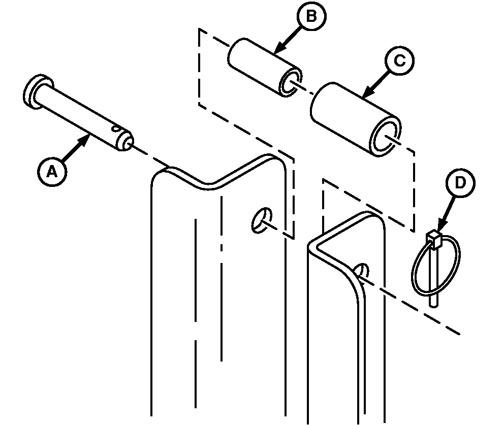
A - Center Link Pin B - Bushing (Small) C - Bushing (Large) D - Quick-Lock Pin Assemble bushings (B and C).
Insert center link pin (A) through ballast box mast and bushing assembly. Fasten with quick-lock pin (D).
| OUO6038,0001573-19-20020315 |
|