Mounting Frame Hardware—5200, 5300, and 5400 Narrow Tractors Without Cab

IMPORTANT:

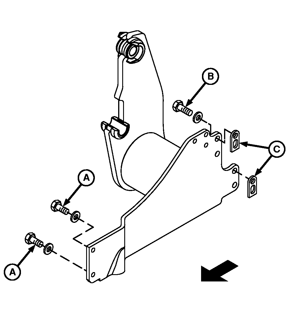
W09920
W09920-UN-17SEP08

A - Cap Screws and Washers, M16 x 50

B - Cap Screw and Washer, M20 x 65

C - Spacers

Help prevent damage to the tractor or loader caused by operating with loose mounting hardware. Tighten loader mounting frame hardware after the first 10 hours of operation and again after every 50 hours.

ItemMeasurementSpecification
Mounting Frame-to-Tractor Frame Hardware
M16 Cap Screws (A)Torque275 N•m (200 lb-ft)
M20 Cap Screws (B)Torque530 N•m (400 lb-ft)

OUO6038,0001DF7-19-20081021