Prepare the Loader
Prevent possible bodily injury from a falling loader.
Support the loader with an overhead hoist during disassembly and assembly.
Avoid crushing oil lines. DO NOT wrap chains around
the torque tube. Chains can crush oil lines, making replacement necessary.

TS219-UN-23AUG88
-

W06891-UN-13JUL04

W09843-UN-29AUG08
A - Bucket or Attachment
B - Banding
C - Parts Container (optional)
D - Shipping Brace
E - Bucket Timing Rod (shipping position)
F - Lifting Strap (3 used)
G - Hold-Down Strap (1 each side)
H - Safety Stand (1 each side)
Remove and discard the banding (B) and shipping brace (D).
Remove the parts container (C) and bucket or attachment (A) from the
loader assembly.
-
Lower the loader assembly
down on safety stands (H) using an overhead hoist with lifting straps
(F) attached on the loader.
-
Remove the bucket timing
rod (E) from inside of the boom. Remove and discard hold-down straps
(G), wire, and wood pallet.
-

W06866-UN-14JUL04
Cut paint mask rings off all cylinders.
-
Use wire from dunnage to hold the lift cylinder in place.

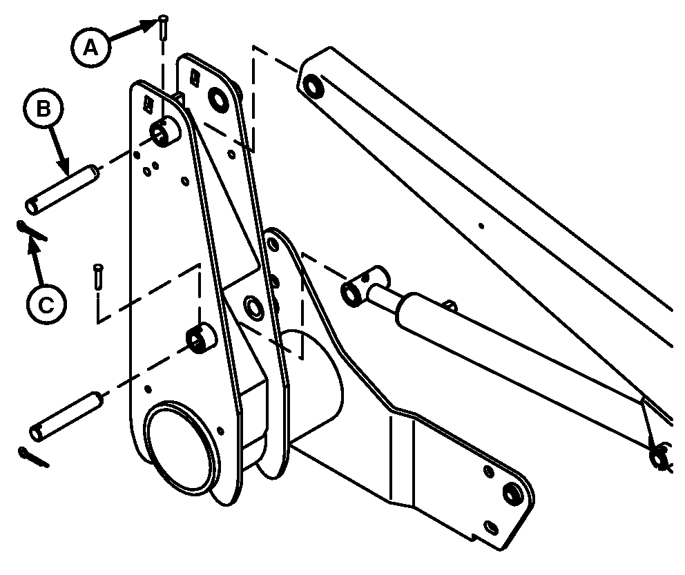
W06448-UN-13JAN04
A - Pin (2 used)
B - Pin (2 used)
C - Cotter Pin (2 used)
Detach mounting frames from the loader boom and from cylinders
by removing cotter pins (C) and pins (A and B).
|
|
OUO6064,0000F78-19-20180827
|
|