-
Prevent possible injury caused by a falling or shifting
loader. Always detach the loader on a hard, level surface. Loader
MUST be equipped with a bucket and parking stands.

W14000-UN-05OCT88

W03145-UN-23OCT98
Be sure that the loader is equipped with a materials bucket.
-
Remove the ballast box,
if equipped. (See Remove Ballast Box in this section.)
-
Dump the bucket approximately
45° as shown.
-
Lower the bucket to the
ground, applying slight down-pressure. DO NOT raise the front tires
off the ground.
-
Place the transmission
in PARK and shut off the engine.
-

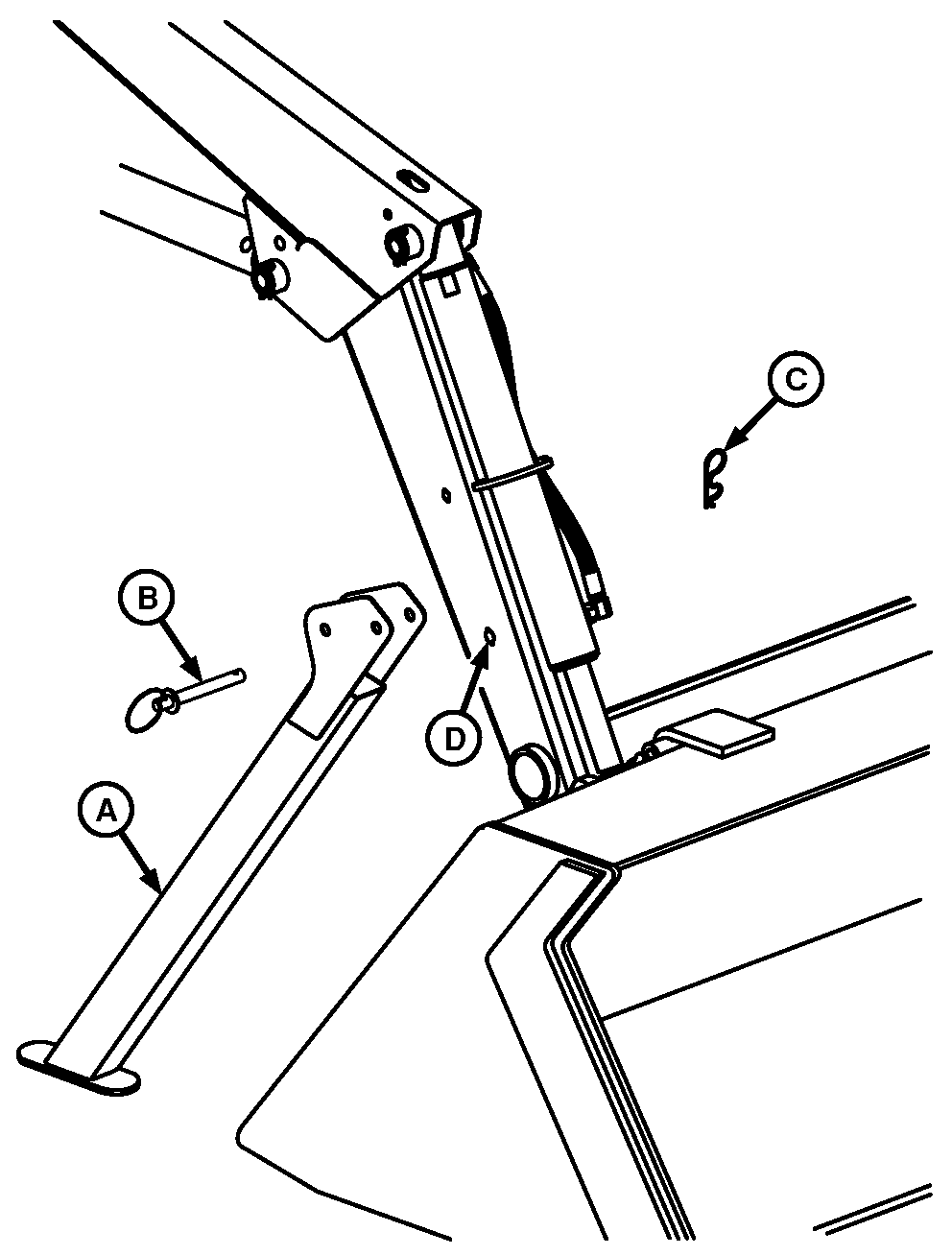
W05843-UN-17FEB03
A - Parking Stand
B - Pin
C - Spring Pin
D - Hole Location
Install parking stands on BOTH sides of the loader. The right-hand
side is shown. Use boards under parking stands to prevent the loader
from sinking in soft ground.
Attach the parking stand (A) using pin (B) and spring
pin (C) through the hole (D).
-
Place the transmission
in NEUTRAL.
-
Raise the loader and
roll back the bucket until parking stands contact the ground and pressure
is removed from loader mast pins.
-
Place the transmission
in PARK and shut off the engine.
-
Prevent possible injury from falling lift cylinders.
Secure the lift cylinder to the loader boom using straps or wire before
removing pins.

W09742-UN-05AUG08
A - Loader Boom
B - Pin (2 each side)
C - Lift Cylinder
Wrap the wire or support straps around the loader boom (A)
and lift cylinders (C).
-
Remove pins (B) from
both mounting frames.
-

X9811-UN-23AUG88
Escaping fluid under pressure can penetrate the skin, causing
serious injury. Avoid the hazard by relieving pressure before disconnecting
hydraulic or other lines. Protect hands and body from high-pressure
fluids. See additional information, Avoid High-Pressure Fluids, in
the Safety section.
Relieve the hydraulic pressure. (See Relieve Hydraulic
Pressure in Controls section.)
-

W09846-UN-29AUG08
Single-Lever ICV—Early Version (If Equipped)

W09844-UN-29AUG08
Single-Lever ICV—Later Version (If Equipped)
A - Hydraulic Hose (4 used)
Independent control valve couplers: Disconnect loader hydraulic
hoses (A) from the ICV.
-

W08607-UN-02MAY07
Mid-Mount Valve (If Equipped)

W09845A-UN-02SEP08
Hose Bracket
A - Loader Hose (4 used)
B - Spring Pin
C - Hose Bracket
Mid-mount couplers: Disconnect loader hoses (A) from the
valve.
-
Remove the spring pin
(B) and hose bracket (C) from the mast.