Mounting Frame Hardware—5200, 5300, and 5400 Tractors
(Except Narrow Tractors Without Cabs)
IMPORTANT:

W09920-UN-17SEP08
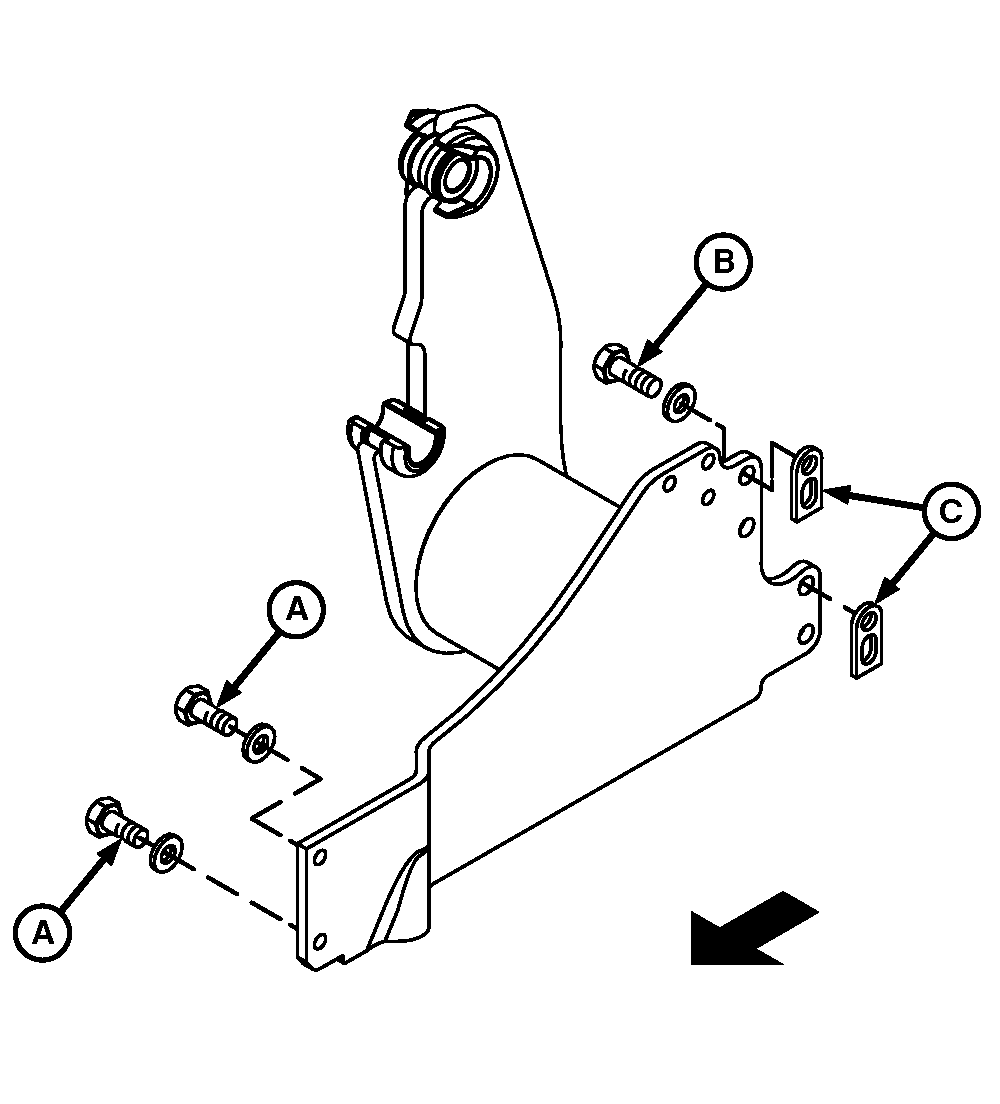
A - Cap Screws and Washers, M16 x 50
B - Cap Screws and Washers, M20 x 65
C - Spacers
Help prevent damage to the tractor or loader caused by operating
with loose mounting hardware. Tighten loader mounting frame hardware
after the first 10 hours of operation and again after every 50 hours.
| Item | Measurement | Specification |
| Mounting Frame-to-Tractor Frame Hardware |
|
M16 Cap Screws (A) | Torque | 275 N·m (200 lb.-ft.) |
|
M20 Cap Screws (B) | Torque | 530 N·m (400 lb.-ft.) |
|
|
OUO6064,0000FE1-19-20140217
|
|