Installing Hitch Pin Bushings on Ballast Box for Category 1
Quick Coupler Hitch
NOTE: Install bushings on both hitch pins. Right-hand side shown.
-

W04939-UN-22JUL02
A - Bushing
B - Bushing
C - Spring Pin
Install bushing (A) over hitch pin with cross hole as shown.
-
Install bushing (B) as shown.
-
Align holes in bushings with hole in hitch pin and install spring
pin (C).
-

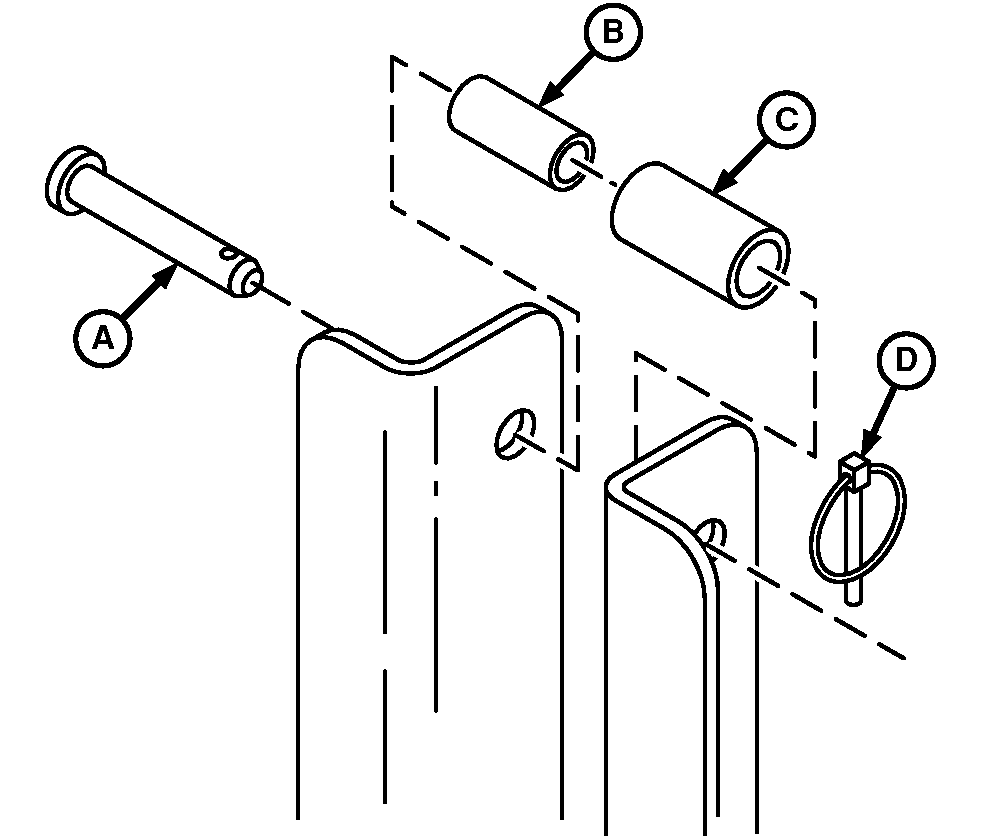
W05063-UN-05FEB02
A - Center Link Pin
B - Bushing (Small)
C - Bushing (Large)
D - Quick-Lock Pin
Assemble bushings (B and C).
-
Insert center link pin (A) through ballast box mast and bushing
assembly. Fasten with quick-lock pin (D).
|
|
OUO6038,0001573-19-20020315
|
|