D160 Loader Specifications on 3E Series Tractors1

W23764
W23764-UN-14JUN13


3032E, 3036E, AND 3038E TRACTORS

Minimum Rear Ballast

Rear tires filled with liquid ballast2

Six rear wheel weights

170 kg (375 lb.) minimum (3-point hitch ballast)

Front Tires

25 X 8.50-14

Rear Tires

15.00-19.5

Wheel Base (WB)

1525 mm (60 in.)

General Purpose Materials Bucket

Width

1550 mm (61 in.)

Length

Mass

93 kg (205 lb.)

Hydraulic System

Rated Flow

20 L/min. (5 gpm)

Maximum Pressure

17202 kPa (172 bar) (2495 psi)

Cycle Times (in seconds)

Loader Raise Time

3.31

Loader Lower Time

2.75

Bucket Dump Time

1.75

Bucket Rollback Time

1.88

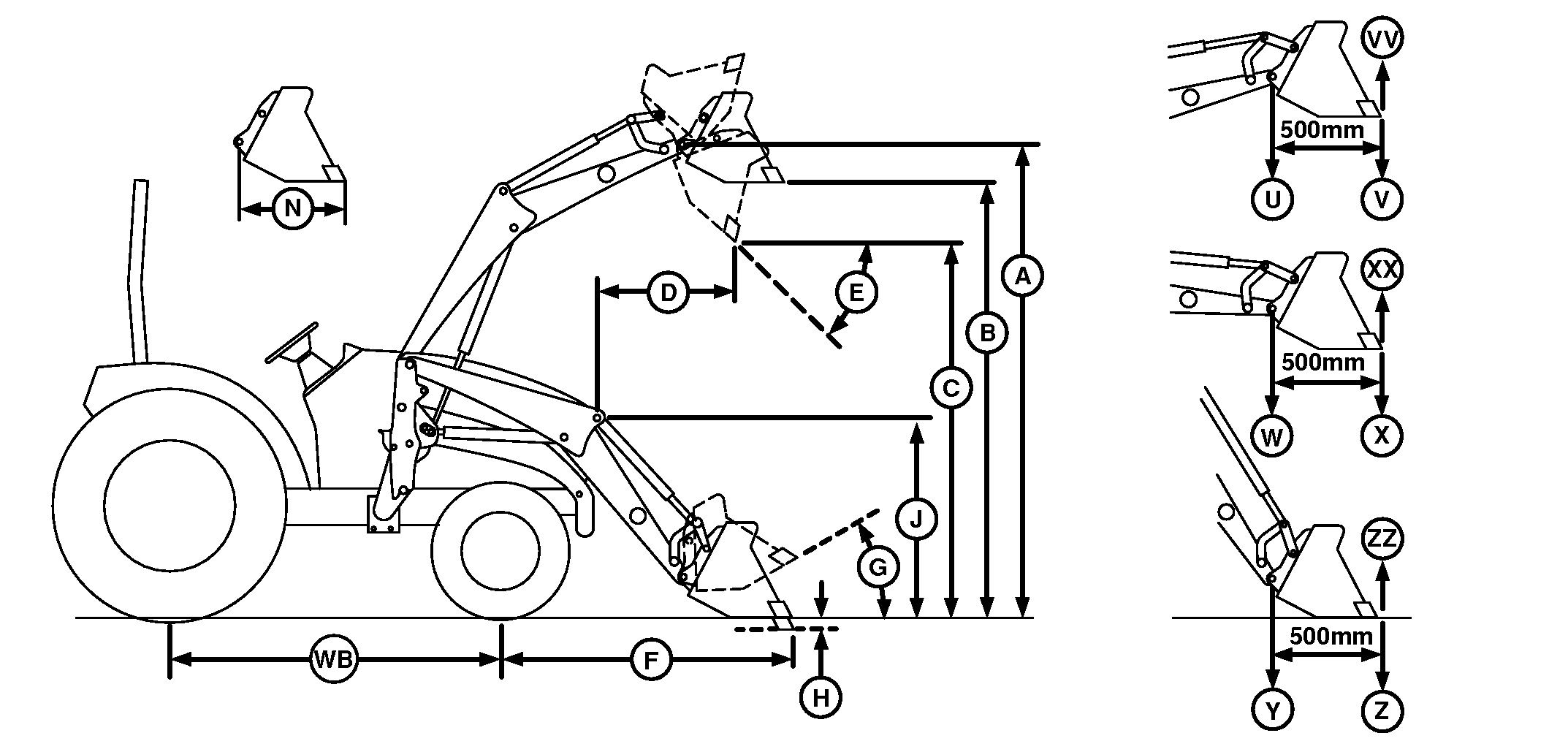
Lift Height (Maximum)

To Pivot Pin (A)

2140 mm (84 in.)

Clearance

Bucket Level (B)

1979 mm (78 in.)

Bucket Dumped (C)

1596 mm (63 in.)

Overall Length (WB + F)

2893 mm (114 in.)

Digging Depth (H)

131 mm (5 in.)

Reach

At Maximum Lift Height with Bucket Dumped (D)

603 mm (24 in.)

Bucket on Ground with Bucket Leveled (F)

1369 mm (54 in.)

Angles (Maximum)

Dump (E)

44°

Dump at Ground

122°

Rollback (G)

31°

Rollback at Full Height

Overall Height

In carrying position (J)

161 mm (6 in.)

Lift Capacity

To Maximum Height (U) at Pivot Point

539 kg (1186 lb.)

To Maximum Height (V)

384 kg (845 lb.)

To 1500 mm (59 in.) at pivot pin (W)

588 kg (1294 lb.)

To 1500 mm (59 in.) (X)

444 kg (977 lb.)

Breakout Force

At Pivot Point (Y)

7580 N (1704 lb.-force)

500 mm forward of pivot point (Z)

5356 N (1204 lb.-force)

Bucket Rollback Force

At maximum height (VV)

6374 N (1433 lb.-force)

At 1500 mm (59 in) lift height (XX)

8069 N (1814 lb.-force)

At Ground Level Line (ZZ)

6325 N (1422 lb.-force)

1 (Specifications and design subject to change without notice)
2 Fill tires 3/4 full using a calcium chloride mixture of 1.6 kg (3.5 lb.) per 4 L (1 U.S. gal) of water

OUO6064,0000E2C-19-20130912