553 Non Self-Leveling Loader on 5D Series Tractors

1

W23591
W23591-UN-18MAR13


Tractor Models 5D Series

Minimum Rear Ballast

3-Point Hitch

1000 kg (2205 lb.)

Front Tires

7.5-16

Rear Tires

16.9-28

Heavy-Duty Materials Bucket

Width

1850 mm (73 in.)

Length

Mass

178 kg (392 lb.)

Hydraulic System

Rated Flow

43 L/min. (11 gpm)

Maximum Pressure

19 500 kPa (195 bar) (2828 psi)

Cycle Times (in seconds)

Loader Raise Time

4.6

Loader Lower Time

2.7

Bucket Dump Time

4.3

Bucket Rollback Time

2.5

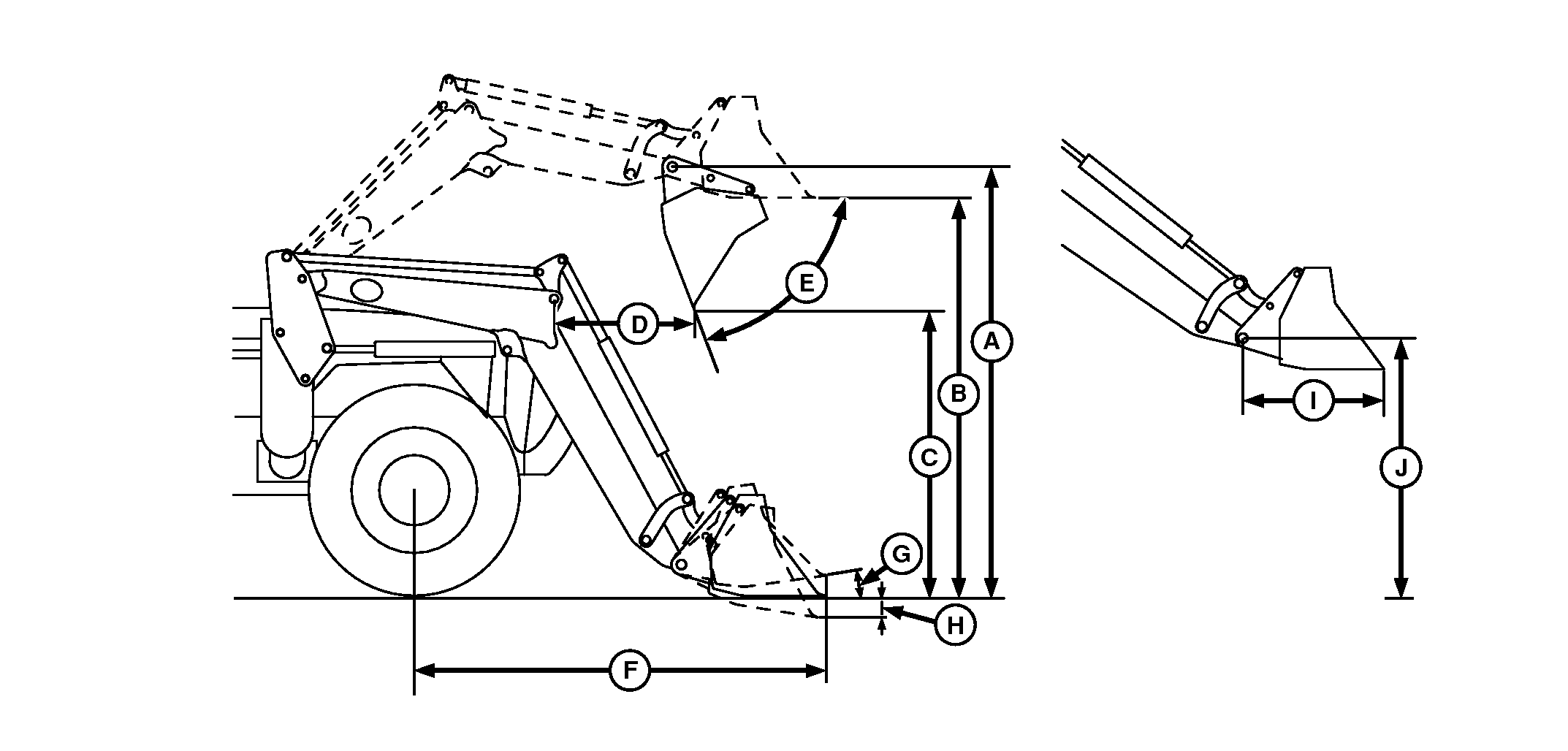
Lift Height (Maximum)

To Pivot Pin (A)

2973 mm (117 in.)

Clearance

Bucket Level (B)

2743 mm (108 in.)

Bucket Dumped (C)

2252 mm (89 in.)

Digging Depth (H)

215 mm (8 in.)

Reach

At Maximum Lift Height with Bucket Dumped (D)

881 mm (35 in.)

Bucket on Ground with Bucket Leveled (F)

1955 mm (77 in.)

Angles (Maximum)

Dump (E)

44°

Dump at Ground

128°

Rollback (G)

35°

Lift Capacity

To Maximum Height (A) at Pivot Point

1299 kg (2858 lb.)

To Maximum Height (A) at 800 mm (31.5 in.) (I) Ahead of Pivot Point

841 kg (1850 lb.)

To 1500 mm (59 in.) (J) at Pivot Point

1721 kg (3786 lb.)

Breakout Force

At Pivot Point

2437 kg force (5353 lb.-force)

800 mm (31.5 in.) (I) Ahead of Pivot Point

1662 kg force (3644 lb.-force)

1 (Specifications and design subject to change without notice)

OUO6064,00014D2-19-20150715