General

    The hydraulic hose couplings comply with the ISO standard.

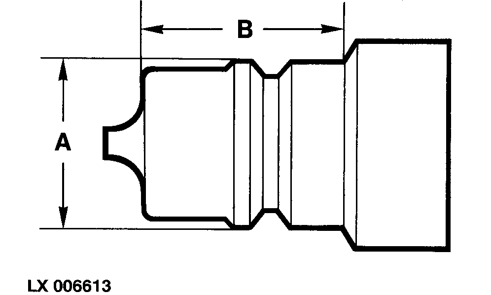
  • Dimension (A) is between 23.66 and 23.74 mm (0.931 and 0.934 inch).
  • Dimension (B) is at least 24 mm (0.945 inch).

Recommendations for tire pressure, hydraulics and other information on the operation of the machines are given in the tractor manual.

Check the tire pressure; if necessary, fit front weights (see tractor manual).

Check the hydraulic oil level on the tractor and top up if necessary.

LX006613


A-Dimension A
B-Dimension B

WZ00085,00003F0 -19-15SEP05-1/1