General

    The hydraulic hose couplings comply with the ISO standard.

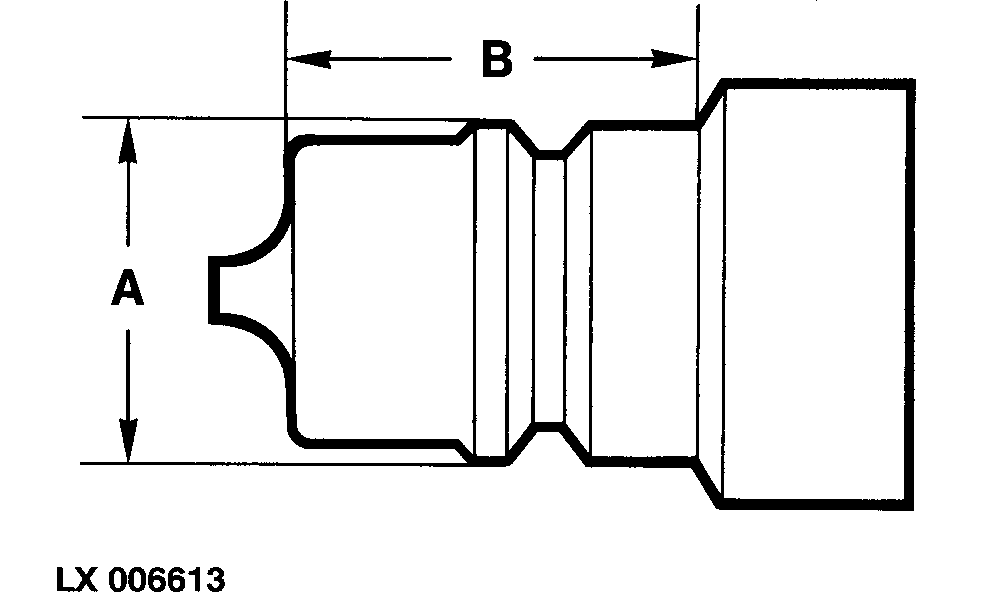
  • Dimension (A) is between 23.66 and 23.74 mm.
  • Dimension (B) is at least 24 mm.

Recommendations for tire pressure, hydraulics and other information on the operation of the machines are given in the tractor manual.

Check the tire pressure; if necessary, fit front weights (see tractor manual).

Check the hydraulic oil level on the tractor and top up if necessary.

The hydraulic components of the sprayer are filled with a hydraulic oil according to the following specification API CE/SF (15W-30). John Deere equivalents are JDM J27 and J20C.

If the machine is equipped with an on-board hydraulic system, a different oil specification is used in the system; refer to section "Maintenance" for more detailed information.

LX006613


A-Dimension A
B-Dimension B

WZ00085,00003F0 -19-09JUN06-1/1