Operating Forage Harvester With Metal Detector Locked Out - Four-Speed LOC

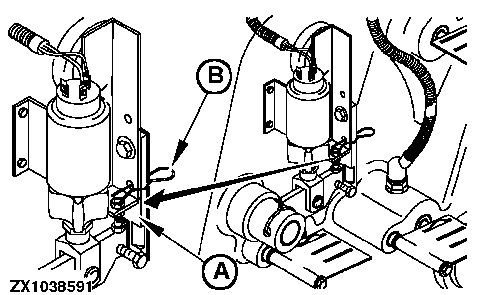
Mechanically disengage locking pawl in the length-of-cut transmission by means of tongue (A). Secure tongue (A) with spring pin (B).


A-Tongue
B-Spring Pin

ZX1038591

OUCC002,000210B -19-16NOV05-1/2


Disable metal detector by means of on-board diagnostic address SIG 100.

ZX1029704

OUCC002,000210B -19-16NOV05-2/2