Adjusting Locking Pawl - Four-Speed LOC

causym CAUTION: Before carrying out any adjustment or service work, always disengage all drives, shut off engine and wait until all moving parts have stopped.

If the slip clutch at length-of-cut transmission slips when changing over from reversing to forward, the reason may be an incorrect adjustment of the locking pawl.

Preparations

With ignition off, remove locking pin (A). Rotate slip clutch forward by hand until it can be felt that the locking pawl is at the highest point of a cam on the cam wheel.


A-Locking Pin

ZX1038593

OUCC002,000210D -19-16NOV05-1/6


Adjustment

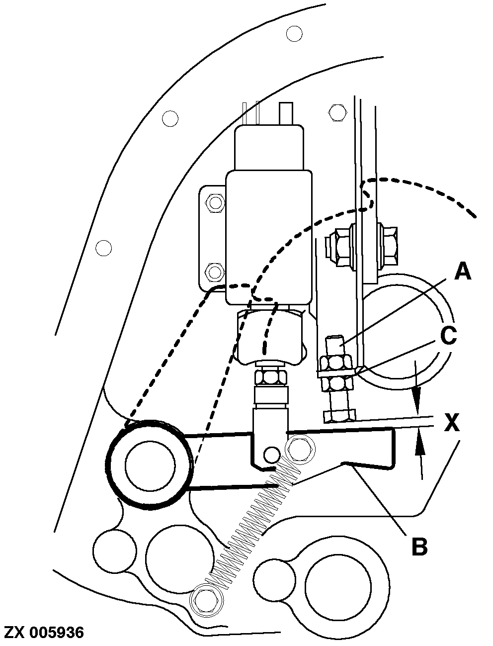
Adjust clearance X = 3 - 4 mm (0.12 - 0.16 in.) between screw head and lever (B) by means of cap screw (A). Tighten lock nut (C).


A-Cap screw
B-Lever
C-Lock nut
X-Clearance 3 - 4 mm (0.12 - 0.16 in.)

ZX005936

OUCC002,000210D -19-16NOV05-2/6


Current Supply of Locking Pawl Magnetic Switch

Turn ignition on.

Activate metal detector.

Engage main clutch.

Switch on metal detector.

Reverse feed rolls.

Locking pawl magnetic switch (A) is now supplied with current.

ZX1038590


A-Locking Pawl Magnetic Switch

OUCC002,000210D -19-16NOV05-3/6


Adjusting Locking Pawl Magnetic Switch

Loosen lock nut (A). Raise lever (B) up to the screw head.


A-Lock nut
B-Lever

ZX005984

OUCC002,000210D -19-16NOV05-4/6


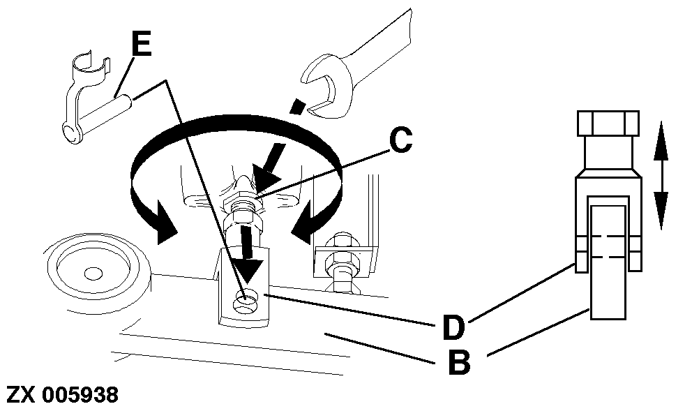
Turn plunger (C) until upper edge of bore in yoke (D) is aligned with upper edge of bore in lever (B). Install locking pin (E).


B-Lever
C-Plunger of locking pawl magnetic switch
D-Yoke
E-Locking pin

ZX005938

OUCC002,000210D -19-16NOV05-5/6


Rotate plunger (C) downward until a gap X = 0.1 - 0.2 mm (0.0039 - 0.0078 in.) is obtained between lever (B) and screw head. Tighten lock nut (A).


A-Lock nut
B-Lever
C-Plunger of locking pawl magnet
X-Clearance 0.1 - 0.2 mm (0.0039 - 0.0078 in.)

ZX005985

OUCC002,000210D -19-16NOV05-6/6