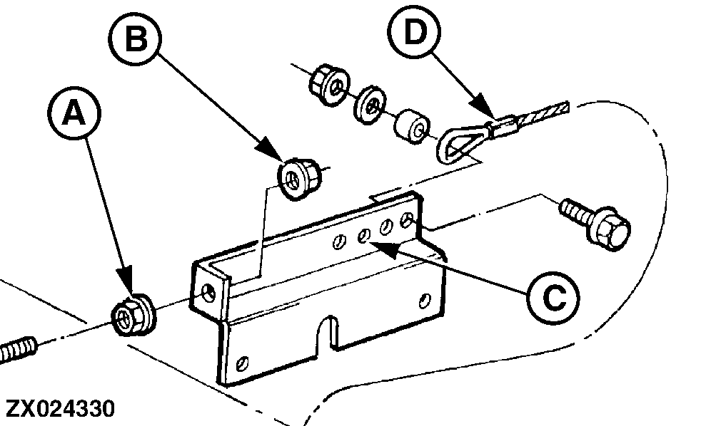
Retensioning Guide Cable

At the r.h. side attaching point the guide cable can be retensioned.

1. Loosen lock nut (A).

2. Tighten adjusting nut (B) to tension cable (D).

3. If bottom of thread has been reached, further adjustment can be performed by using different fixing hole (C) for cable (D).

ZX024330


A-Lock nut
B-Adjusting nut
C-Fixing holes
D-Cable

OUZXMAG,0000906 -19-27MAR01-1/1