Replacing Wear Plate

causym CAUTION: Before servicing or adjusting the harvester, disengage all drives, shut off engine and wait until all moving parts have stopped.

Crossmembers

Loosen lock nuts of locking screws (A) and slacken locking screws until tension on blower bottom is relieved.

Remove attaching screws (B) of lower and upper crossmembers (C) and (D). Remove crossmembers. Use one attaching screw (B) on each side to limit folding movement of blower bottom.

On 7700 and 7800 harvesters, remove the vertical plate (E) to provide enough space for wear plate removal.


A-Locking screws
B-Attaching screws
C-Lower crossmember
D-Upper crossmember
E-Vertical plate

ZX013791
ZX1035955

7700 and 7800 Vertical Plate

ZX013792

OUZXMAG,0001D58 -19-27AUG04-1/3


Clamping Key

Use a mounting bar (A) to move back clamping key (B). Slide clamping key (B) approx. 50 mm (1.96 in.) to the left and take out through blower support opening from the right-hand side.

ZX013793
ZX013795

OUZXMAG,0001D58 -19-27AUG04-2/3


Wear Plate

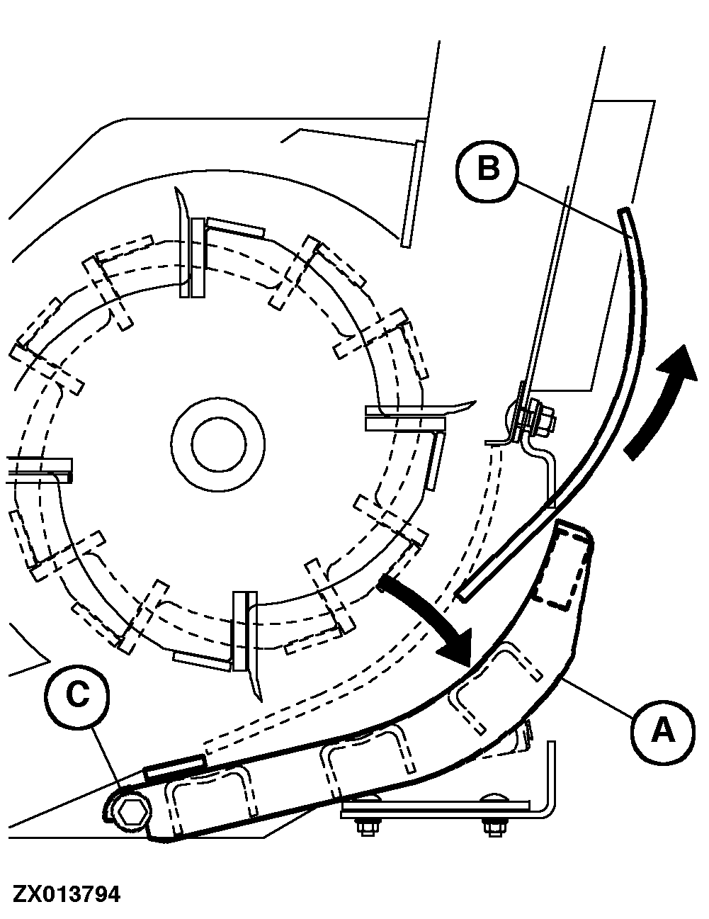
Remove attaching screws used to limit folding movement of blower bottom.

Tilt frame (A) to the rear and remove wear plate (B) from the top.

If necessary, detach frame (A) at attaching point (C) and pull out.

NOTE: Before installing new parts, thoroughly clean inside of blower.


A-Blower bottom frame
B-Wear plate
C-Frame attaching point

ZX013794

OUZXMAG,0001D58 -19-27AUG04-3/3