Fine Tuning Hay Pickup Unit for Maximum Productivity

In most conditions, the header should be run in the "fast" position of IVLOC-transmission. With extremely heavy crops or under conditions where ground speed is extremely slow, it may be necessary to slow the speed of the pickup tines.

  • Drum speed should be adjusted based on forage harvester ground speed. Pickup headers are delivered with a 19T "fast speed" driving sprocket. A 17T "slow speed" sprocket is available through the spare parts channel.
  • Auger speed should be based on LOC and matched as close as possible to feedroll speed. Contact your John Deere dealer for sprocket delivery.

    NOTE: It is better to have the auger turning slightly faster (rather than slower) than the feedrolls.

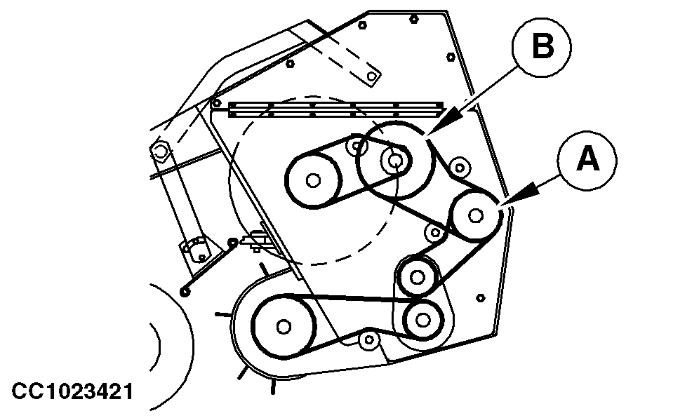
    Refer to the following tables to match auger speed with desired LOC:

    NOTE: When changing to the 33/15T driven auger sprocket, the chain will need to be shortened.

    If half a set of knives has been removed for a longer LOC, use the sprocket combination based on a full set of knives. Feedroll speed will not change even though a longer LOC is achieved with half a set of knives.

CC1023421


A-Input Drive Double Sprocket
B-Pickup Auger Drive Intermediate Sprocket

40-knife cutterhead
Length of Cut with 40 knives 6-17 mm (0.24-0.67 in.) 8-21 mm (0.31-0.83 in.) 14-26 mm (0.55-1.02 in.)
Sprocket (A) 22/22 25/22 25/22
Sprocket (B) 42/15 42/15 33/15
Length of Cut with 20 knives 12-36 mm (0.47-1.48 in.) 15-42 mm (0.59-1.65 in.) 28-52 mm (1.10-2.05 in.)
Sprocket (A) 22/22 25/22 25/22
Sprocket (B) 42/15 42/15 33/15

 

OUZXMAG,0001D74 -19-03SEP04-1/2


48-knife cutterhead
Length of Cut with 48 knives 5-16 mm (0.20-0.63 in.) 6-18 mm (0.24-0.71 in.) 11-22 mm (0.43-0.87 in.)
Sprocket (A) 22/22 25/22 25/22
Sprocket (B) 42/15 42/15 33/15
Length of Cut with 24 knives 10-33 mm (0.39-1.30 in.) 11-37 mm (0.43-1.46 in.) 22-44 mm (0.87-1.73 in.)
Sprocket (A) 22/22 25/22 25/22
Sprocket (B) 42/15 42/15 33/15

 

56-knife cutterhead
Length of Cut with 56 knives 4-14 mm (0.16-0.55 in.) 4-16 mm (0.16-0.63 in.) 8-19 mm (0.31-0.75 in.)
Sprocket (A) 22/22 25/22 25/22
Sprocket (B) 42/15 42/15 33/15
Length of Cut with 28 knives 8-28 mm (0.31-1.10 in.) 8-32 mm (0.31-1.26 in.) 16-38 mm (0.63-1.50 in.)
Sprocket (A) 22/22 25/22 25/22
Sprocket (B) 42/15 42/15 33/15

 

OUZXMAG,0001D74 -19-03SEP04-2/2