Installing the Power Chute on the Attaching Frame

causym CAUTION: Before adjusting the machine or performing service work, always switch off all drives, shut off the engine and wait until all moving parts have come to a stop.

Preparations

Move adapter frame of feed roll housing into vertical position.

Remove the grass channel.

OUZXMAG,0001D82 -19-06SEP04-1/3


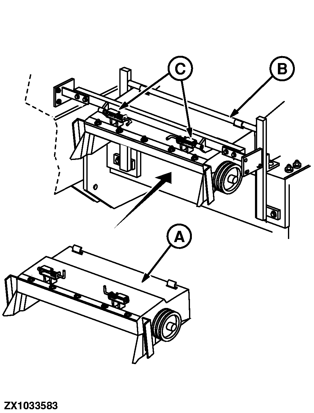
Installation

1. Use chain hoist to raise the power chute until it is level with the engagement points.

2. Engage the attaching straps (B) at the rear of the power chute (A) in the rear of the attaching frame, then use latches (C) to secure the power chute at the front of the attaching frame.


A-Power Chute
B-Attaching Straps
C-Latches

ZX1033583

OUZXMAG,0001D82 -19-06SEP04-2/3


3. Engage the power chute's service cover (A), close it and lock it, see "Cutterhead Service Cover / Feed Plate", Cutterhead, Drives, Guards, Covers" section.

4. Install and align the drive belts (see "Drive Belt" in this section).

5. When using the automatic knife sharpening, automatic stationary knife adjust or manually reverse functions of the cutterhead see "Locking Device - Kernel Processor / Power Chute Main Drive (Four-Speed LOC Only)" in Kernel Processor or Power Chute sections.

ZX1033584

OUZXMAG,0001D82 -19-06SEP04-3/3