Adjusting Recirculating Screen

causym CAUTION: Before servicing or adjusting the harvester, always disengage all power, shut off engine and wait until all moving parts have stopped.

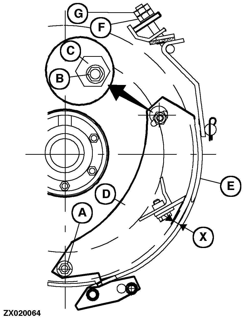
It is important that a minimum clearance X = 0.5 mm (0.02 in.) between cutterhead knives and screens is maintained at all times. Check this clearance every 10 hours of operation.

Clearance should not exceed 2 mm (0.08 in.). Excessive clearance will cause rapid screen wear and high horsepower requirements will result.

Loosen attaching bolts (A) and (B) on both sides.

Using cam (C), turn adjusting plate (D) towards cutterhead.

Turn hex. nuts (F) until recirculating screen (E) contacts adjusting plates (D).

Repeat this procedure until dimension X = 0.5 mm (0.02 in.) is obtained.

Tighten attaching bolts (A) and (B) as well as lock nuts (G).

After sharpening, adjusting or replacing knives, it may be necessary to readjust screen to obtain best performance.

Turn cutterhead by hand to make sure that there is no interference between knives and screen.

Reinstall cover and close service cover.

ZX020064


A-Attaching bolt
B-Attaching bolt
C-Cam
D-Adjusting plate
E-Recirculating screen
F-Hex. nuts
G-Lock nuts
X-Adjusting dimension 0.5 mm (0.02 in.)

OUZXMAY,00005F1 -19-26OCT02-1/1