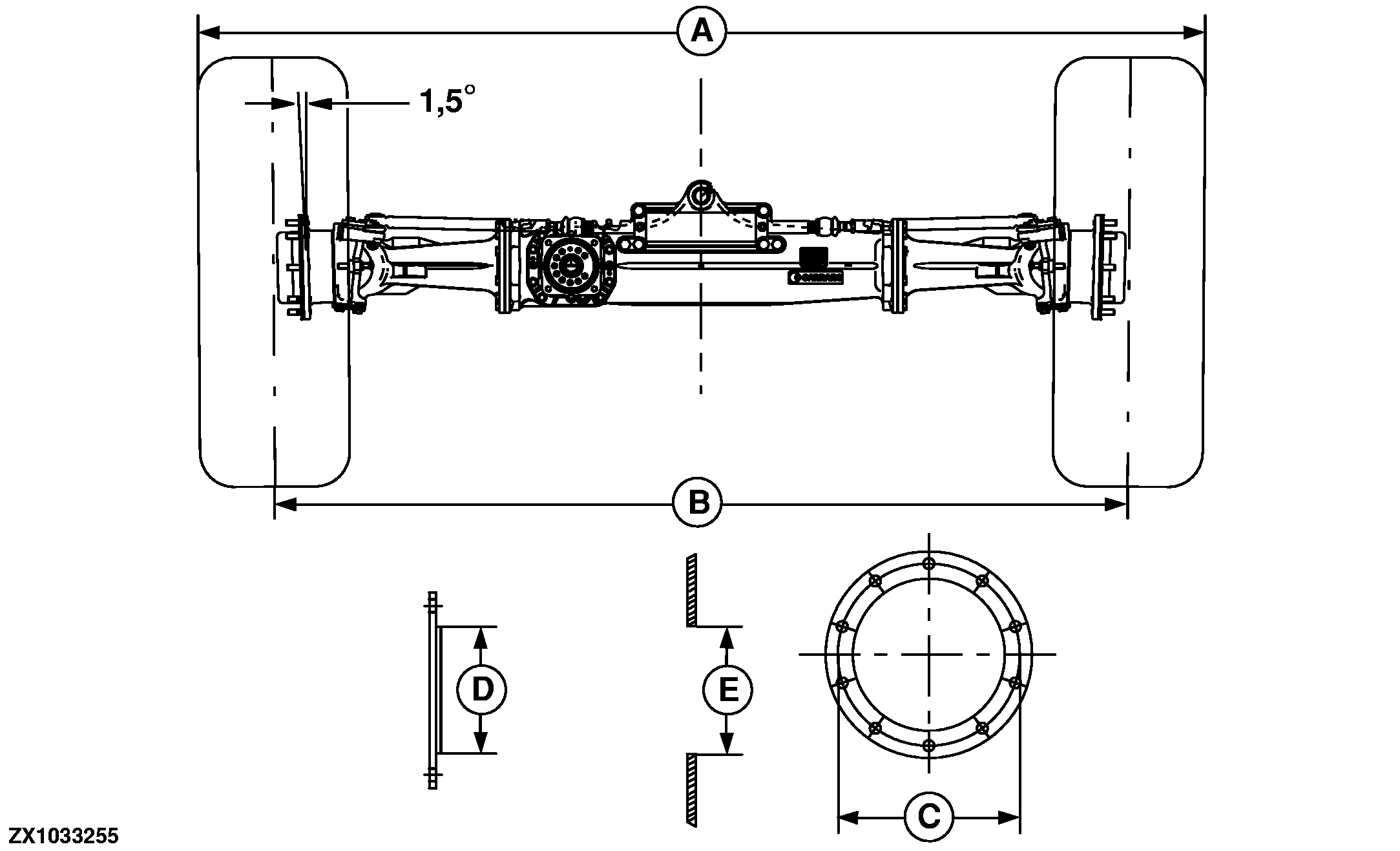
Overall and Track Width - Powered Rear Axle

ZX1033255


A-Overall width
B-Track width


C-Pitch circle diameter, flange (275 mm (10.83 inch))


D-Inner diameter, flange (220.7 mm (8.69 inch))


E-Inner diameter, rim (221 mm (8.7 inch))

Overall Width and Track Width - Powered Rear Axle (Narrow)

Tires Press-in depth Overall width Track width
480/80R26
Michelin
-78.5 mm (-3.09 inch) max. 3138 mm (10.30 ft) 2592 mm (8.50 ft)
480/80R26
Good Year
-78.5 mm (-3.09 inch) max. 3134 mm (10.28 ft) 2592 mm (8.50 ft)
540/65R26 -80 mm (-3.15 inch) max. 3170 mm (10.40 ft) 2594 mm (8.51 ft)

 

OUZXMAY,0000615 -19-01NOV03-1/2


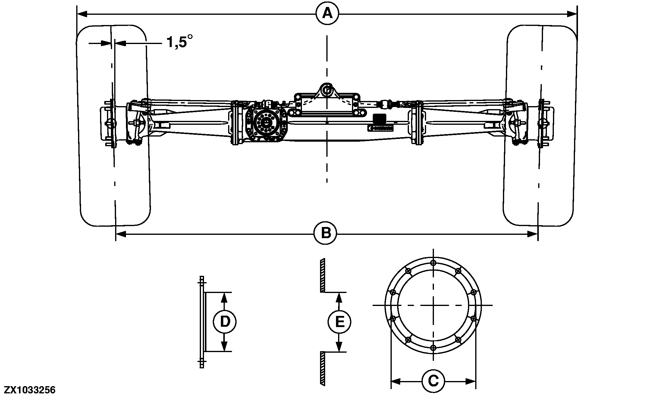
ZX1033256


A-Overall width
B-Track width


C-Pitch circle diameter, flange (275 mm (10.83 inch))


D-Inner diameter, flange (220.7 mm (8.69 inch))


E-Inner diameter, rim (221 mm (8.7 inch))

Overall Width and Track Width - Powered Rear Axle (Wide)

Tires Press-in depth Overall width Track width
480/80R26
Michelin
+114 mm (+4.5 inch) max. 3138 mm (10.30 ft) 2592 mm (8.50 ft)
480/80R26
Good Year
+114 mm (+4.5 inch) max. 3134 mm (10.28 ft) 2592 mm (8.50 ft)
540/65R26 -80 mm (-3.15 inch) max. 3556 mm (11.66 ft) 2980 mm (9.78 ft)
540/65R26 +69 mm (-2.72 inch) max. 3258 mm (10.69 ft) 2680 mm (8.79 ft)
580/70R26 -80 mm (-3.15 inch) max. 3634 mm (11.92 ft) 2978 mm (9.77 ft)
580/70R26 +25 mm (+0.98 inch) max. 3424 mm (11.23 ft) 2770 mm (9.09 ft)

 

OUZXMAY,0000615 -19-01NOV03-2/2