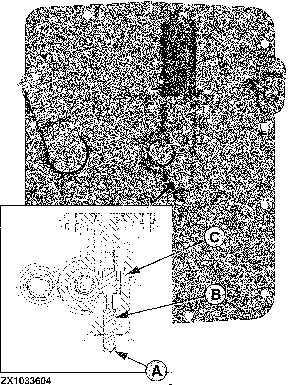
Towing the Forage Harvester

Disengage the lock when towing the forage harvester (without current) as follows:

1. Remove screw (A).
2. Remove bushing (B.
3. Screw screw (A) into housing (C) as far as it will go.

Engage the lock in reverse order.

ZX1033604

OUZXMAY,000062E -19-05AUG03-1/1