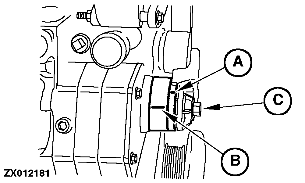
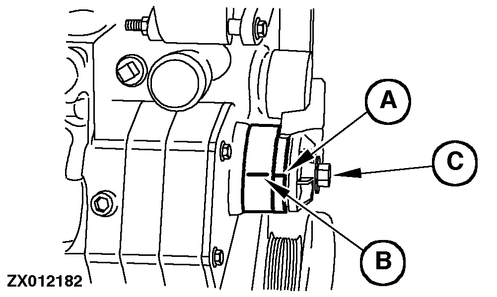
Checking Tensioner Spring Tension

A belt tension gauge will not give an accurate measure of the belt tension when automatic spring tensioner is used. Measure tensioner spring tension using a torque wrench and procedure outlined below:

1. Release tension on belt using a long-bar and adequate wrench applied on cap screw (C) provided with left-hand thread. Remove belt from pulleys.

2. Release tension on cap screw (C), then remove bar and wrench.

3. Put a mark (A) on swing arm of tensioner as shown.

4. Measure 20 mm (0.79 in.) from (A) and put a mark (B) on tensioner mounting base.

5. Rotate the swing arm using a torque wrench applied on cap screw (C) until marks (A and B) are aligned.

NOTE: Before rotating, the torque wrench must be aligned with the tensioner fastening cap screw.

6. Record torque wrench measurement and compare with specification below. Replace tensioner assembly as required.

Spring Tension Specification - 20 N·m (14.8 lb-ft)

ZX012181
ZX012182
ZX009262

ZX,OM1170009748 -19-15SEP97-1/1