Feeder House Drive

IMPORTANT: The double belt (A) should be slack when the drive is disengaged.

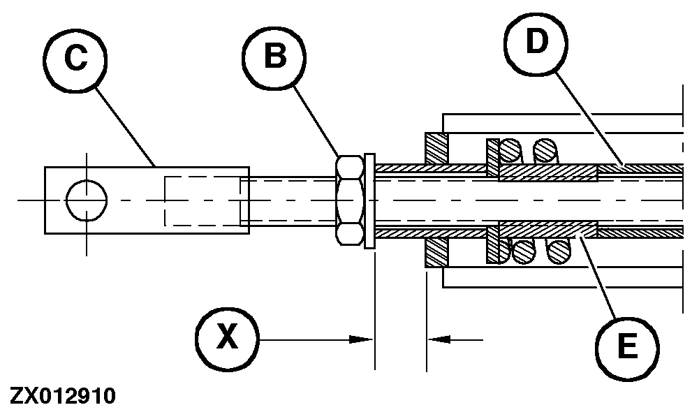
The double belt (A) should be tight when the drive is engaged. Dimension (X) should be 16 to 20 mm (0.6 to 0.8 in.). Adjust with the engine off.

To adjust, loosen lock nut (B) on adjusting rod (C) and adjust threaded tube (D) until specified dimension (X) is obtained. Tighten lock nut (B).


A-Drive Belt
B-Lock Nut
C-Adjusting rod
D-Threaded Tube
E-Threaded Tube Insert
X-16 to 20 mm (0.6 to 0.8 in.)

ZX012186
ZX012910

ZX,OM1170009754 -19-15SEP97-1/1