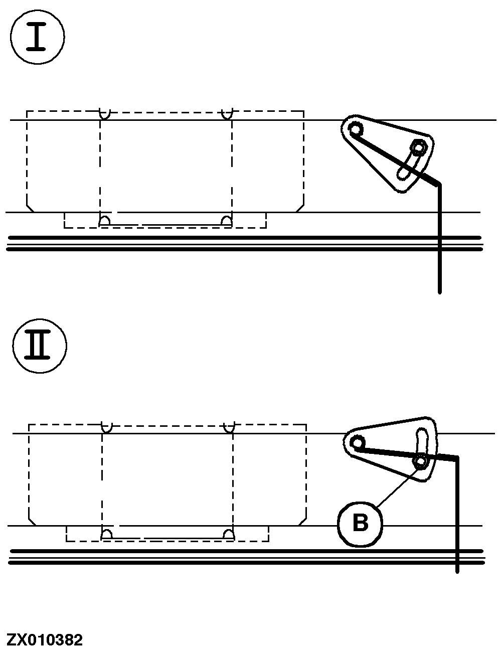
Straw Walker Curtain

The straw walker curtain (A) helps to slow material flow and allows more time for grain to separate from straw. It also prevents grain from being thrown out of the combine by the beater.

Under normal harvesting conditions, the curtain is free to swing in the slot (I).

For crops with high straw content, it may be necessary to set the curtain as high as possible (II), and lock it in this position with nut (B).

NOTE: There are situations in which it is hard to separate grain (e.g. corn). In these cases we recommend the use of a second curtain, available as an attachment

ZX010381
ZX010382

ZX,OMSLC007498 -19-18DEC96-1/1