Adjusting Retractable Pickups

Adjusting the retractable pickup stroke allows the operator to improve feeding results. Between the extended and retracted position it is possible to find an adjustment that allows feeding without breaking or shelling the crop.

Extended Position

For low-height plants and/or when feeding closer to the base of the plant is required and/or when the material needs to be delivered closer to the feeder house.

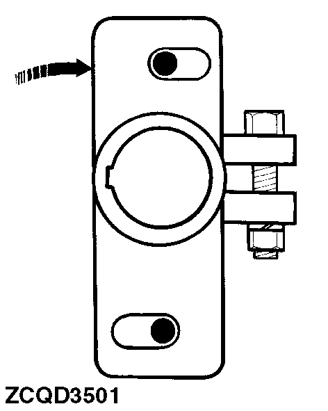
Loosen nuts (A) located on the left side of the header, turn part (B) counterclockwise and tighten nuts (A). Check the effect and, if necessary, repeat the operation until an optimum material feed is obtained.

IMPORTANT: Make adjustments gradually, making sure that the pickups at their lowest point do not contact the header base plate. If so the auger needs to be raised. (See "Adjusting Auger Height" in this Section.)

Retracted Position

For taller crops and high volumes. This position avoids breakage or shelling and the resultant losses.

Loosen nuts (A) located on the left side of the header and turn part (B) a few degrees clockwise and tighten nuts (A). Check the result and, if required, repeat the procedure until obtaining optimum feeding.

ZX010406
ZCQD3491
ZCQD3501

ZX,OMSLC007547 -19-28DEC96-1/1