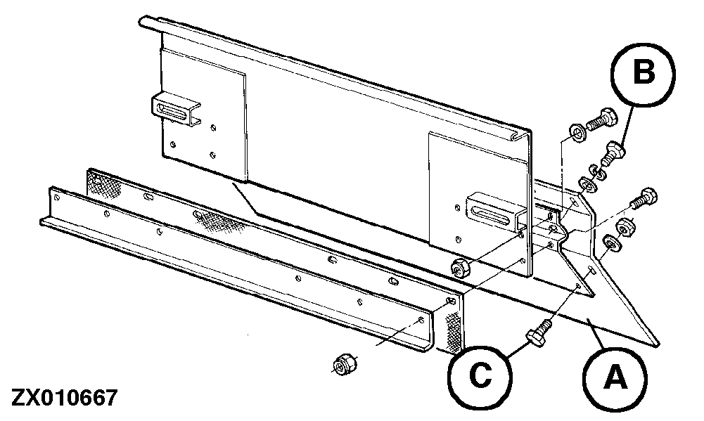
Cylinder Baffle

IMPORTANT: Before harvesting corn, remove the cylinder baffle (A) located inside the inspection port. Reinstall baffle for grains crops.

Baffle (A) is attached by hex bolts (B) and (C).

ZX010667

ZX,OMSLC007558 -19-01DEC98-1/1