Combine Harvester Computer Component Description

ZX012979


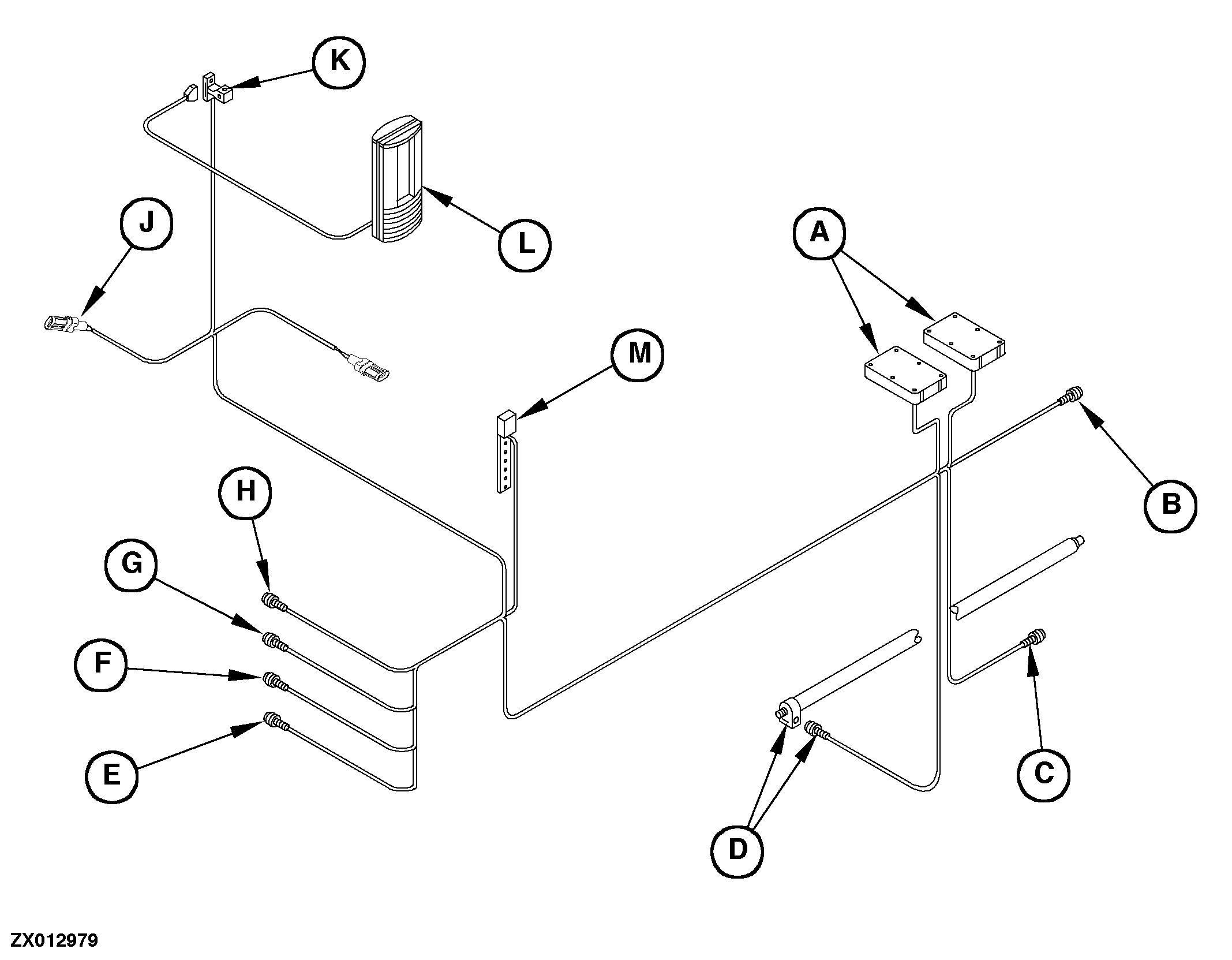
A-Straw Walker Loss Sensors
B-Straw Chopper Speed Sending Unit
C-Ground Speed Sending Unit (Rear Wheel)


D-Sieve Loss Sensor
E-Walker Speed Sending Unit
F-Fan Speed Sending Unit
G-Grain Elevator Speed Sending Unit


H-Tailings Elevator Speed Sending Unit
J-Feeder House Switch Connector


K-Disconnect Point
L-Monitor
M-Sun Sensor

ZX,OMSLC010149 -19-20OCT97-1/1