Freno hidráulico del remolque (opción de máquina 4 y 6 m)

El sistema de frenos es un sistema neumático de doble tubería, de un solo circuito, diseñado para remolques.

Al conectar los manguitos de aire comprimido al tractor, conecte en primer lugar el manguito de freno (enchufe amarillo) y seguidamente el manguito de alimentación (enchufe rojo).

Al desconectar, separe en primer lugar el enchufe rojo, y después el amarillo.

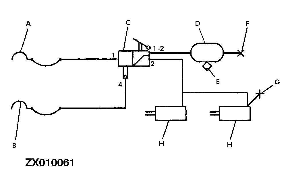
ZX010061


A-Enchufe/tubería alimentación (tapón rojo)
B-Enchufe/tubería de freno (tapón amarillo)
C-Válvula de freno y compensador de frenada
D-Depósito de aire (20 L [5,27 gal.])
E-Válvula de descarga de humedad
F-Boca de prueba
G-Boca de prueba
H-Cilindros de freno tipo diafragma (2)

Posición de trabajo:... El aire comprimido del tractor se dirige a través de un par de tubos de suministro a la válvula del freno del remolque. El aire fluye por las bocas (1) y (1 - 2) de la válvula de remolque al depósito de aire.
Posición de frenado:... Al accionar la válvula de freno del tractor, el aire es enviado a la tubería del freno de remolque y a la válvula de control del freno de remolque (boca 4). Esto hace que la válvula de control del freno de remolque invierta el flujo enviando el aire comprimido por la boca 2 hasta los cilindros de freno.
Posición freno liberado:... Al ventilar el tubo del freno del remolque, la válvula de control del freno del remolque invierte el flujo y ventila los frenos del remolque.
Funcionamiento en caso de rotura o...
desconexión accidental del remolque:
Ventilando la tubería de alimentación del remolque, la válvula de control invierte el flujo y el remolque es frenado automáticamente.
Funcionamiento de válvula...
de liberación del freno:
Para mover el remolque manualmente tras su desconexión, accione la válvula de liberación unida al remolque. Esto hará que la válvula de control del freno de remolque invierta el flujo y ventile los cilindros del freno. En caso de volver a conectar el remolque, el botón de accionamiento de la válvula de liberación será accionado y la válvula de liberación volverá automáticamente a punto muerto. El remolque podrá entonces volver a frenarse.
Freno de estacionamiento:... El freno de estacionamiento se acciona de forma mecánica.

 

AG,OUZXMAG,45 -63-02OCT99-1/1