Reglaje de los marcadores (sólo máquinas 4 y 6 M)

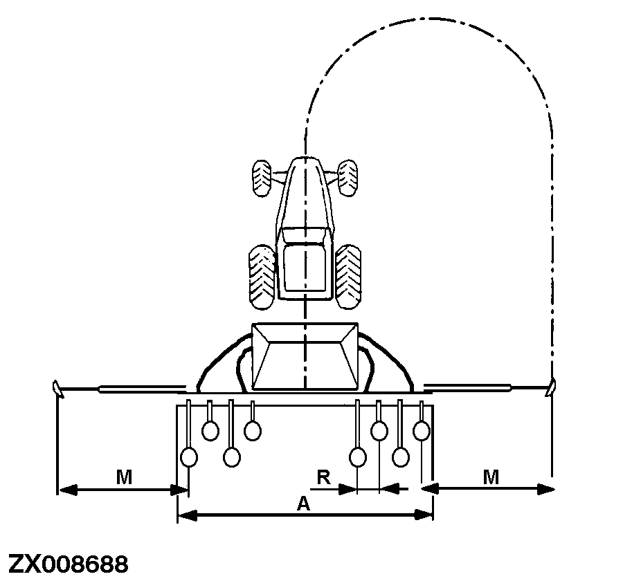
La longitud de los marcadores está determinada por la anchura de trabajo de los marcadores y por la anchura de las hileras. Se calcula del siguiente modo:

La longitud del marcador (M) es igual a la anchura de trabajo (A) más la anchura de la hilera (R). La suma resultante se divide por 2.

Ejemplo:

  • 750A 4 m (13 pies) con 24 abresurcos
  • Anchura de trabajo (A) = 400 cm (396,24 cm pies)
  • Ancho de hilera (R) = 16,7 cm (16,69 cm.)

Longitud (M) de los marcadores:

(400 + 16,7) ÷ 2 = 208,3 cm (82 in.)

Extienda el brazo del marcador (B) para poner los marcadores en su posición calculada. Compruebe el ajuste mientras se avanza con los marcadores bajados.

El marcado óptimo se logra ajustando la inclinación de los discos de los marcadores (C).


A-Anchura de trabajo
B-Brazo de marcador
C-Disco de marcador
M-Marcador
R-Anchura de hilera

ZX008688

Ajuste de los marcadores

ZX011340

AG,OUZXMAG,69 -63-06OCT99-1/1