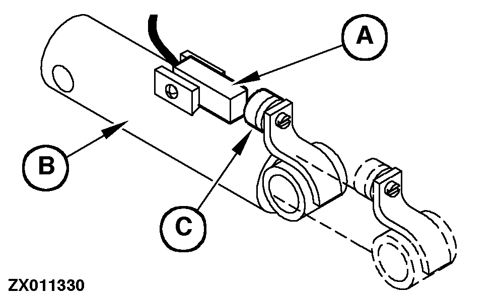
Reglaje del interruptor de la rueda medidora

Para el control del sistema electrónico de espaciado cada elevación de la rueda medidora es registrado por un interruptor de lengüeta (A) ubicado encima del cilindro (B).

NOTA: En las máquinas 4 m y 6 m, el interruptor de molinete (B) se encuentra en el cilindro de la rueda medidora la cual está en el cilindro del abresurcos izquierdo en la máquina 3 m.

Ajuste la distancia entre el interruptor reed (A) y el imán (C) a 1,5 mm (0,06 in.) máximo.

ZX011330

AG,OUZXMAG,71 -63-06OCT99-1/1