Para todos los tractores

IMPORTANTE: La sembradora tal como sale de fábrica necesita tractores con sistemas hidráulicos de circuito cerrado para accionar el sistema de control de presión descendente de los abresurcos.

Se ofrecen conjuntos especiales como accesorios para la adaptación de la sembradora a tractores con sistemas hidráulicos de circuito abierto o para facilitar el cambio entre ambos tipos de sistemas hidráulicos. Véase la sección "Accesorios".

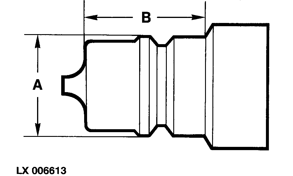
Los enchufes de las mangueras deben estar dentro de la normativa ISO.

  • La distancia (A) debe ser entre 23,66 y 23,74 mm (0,931 y 0,934 in.).
  • La distancia (B) debe ser al menos de 24 mm (0,945 in.).

Consulte las presiones de inflado recomendadas, el uso del sistema hidráulico y demás información sobre utilización de aperos en el Manual del operador del tractor.

Compruebe la presión de los neumáticos, instale el lastre en caso necesario. Consulte el Manual del operador del tractor.

Compruebe el nivel del depósito de aceite hidráulico del tractor y añada aceite, en caso necesario.

LX006613

ZX,OM740A008459 -63-18APR97-1/1