Inspección de las botas y cuchillas

Si el abresurcos penetra poco, la causa puede ser el desgaste de las cuchillas del disco. Una profundidad de siembra irregular puede deberse a unas botas desgastadas. La compactación del suelo provoca un desgaste excesivo y una corta vida útil de estos componentes.

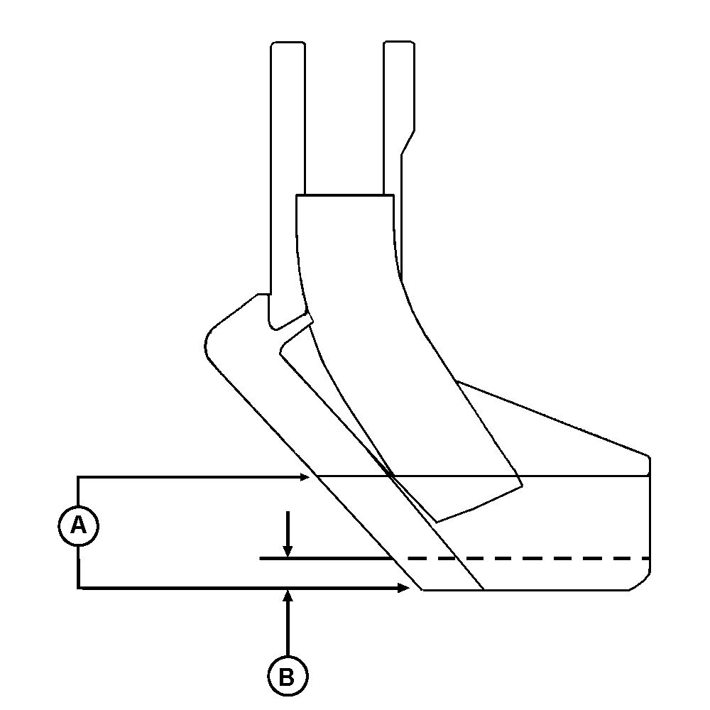
Botas

La bota de siembra inferior mide 70 mm (2,75 in.) (A) de abajo a arriba. Mida la bota inferior y sustituya si está desgastada en 12., mm (0,5 in.) (B) o más y la altura es de 64 mm (2,25 in.) o menos.

La reposición de la bota de siembra puede ampliar su vida útil. Véase "Reglaje de las botas de siembra" en la sección "Manejo de la máquina" para obtener más información.

Cuchillas

Diámetro de la nueva cuchilla del disco es de 457 mm (18 in.). Sustituya la cuchilla del disco cuando el diámetro sea inferior a 406 mm (16 in.) o si se produce una profundidad de siembra irregular debido a una falta de penetración. Véase "Sustitución/Reglaje de cuchillas y cojinetes de disco" en esta sección para sustituir el disco.

N49837


A-70 mm (2,75 in.)
B-12,7 mm (0,5 in.)

ZX,OM750A012734 -63-01NOV98-1/1