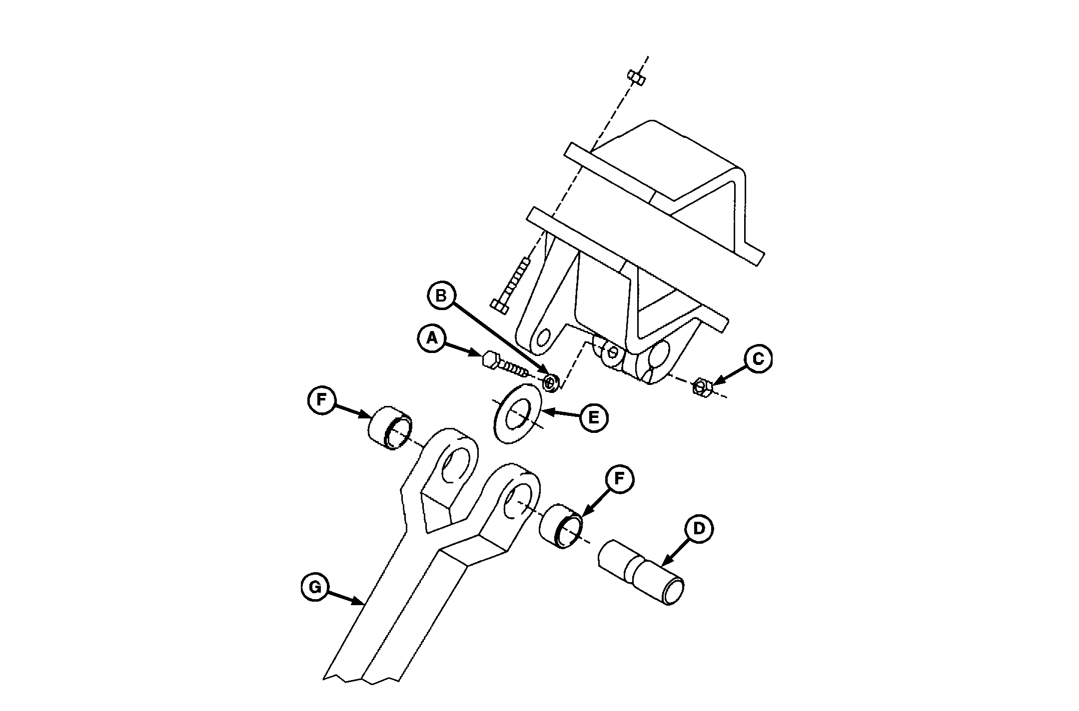
Sustitución de los casquillos de pivote del brazo del abresurcos

N49844


A-Tornillo
B-Arandela


C-Tuerca de bloqueo
D-Pasador de pivote


E-Arandela de empuje
F-Casquillos de pivotamiento del brazo


G-Brazo de abresurcos

1. Elimine la suciedad de las piezas antes de su extracción.

2. Extraiga el equipo y el pasador de pivote (D) del brazo. Retenga la arandela de empuje (E).

3. Quite del brazo los casquillos antiguos.

IMPORTANTE: Al instalar los nuevos casquillos, tenga cuidado de no dañar sus bordes exteriores.

4. Encaje a presión los casquillos nuevos en los taladros del brazo, enrase a 0,08 mm (0,03 in.) por debajo de la superficie exterior.

IMPORTANTE: La arandela de empuje (E) debe instalarse entre el brazo y las piezas coladas del anclaje, en el mismo lado del brazo que el disco.

5. Sitúe la arandela de empuje en el lado del disco del brazo (entre el brazo y el anclaje) y acople el brazo con el pasador de pivote. Tenga cuidado de no dañar los casquillos al instalar el pasador.

6. Instale el equipo que retiene el pasador y apriete a 163 N·m (120 lb-ft).

ZX,OM750A012739 -63-01NOV98-1/1