Adjusting Cylinder Access Door

If the front door is not correctly adjusted, crop can feed back down on the top of the feeder house.

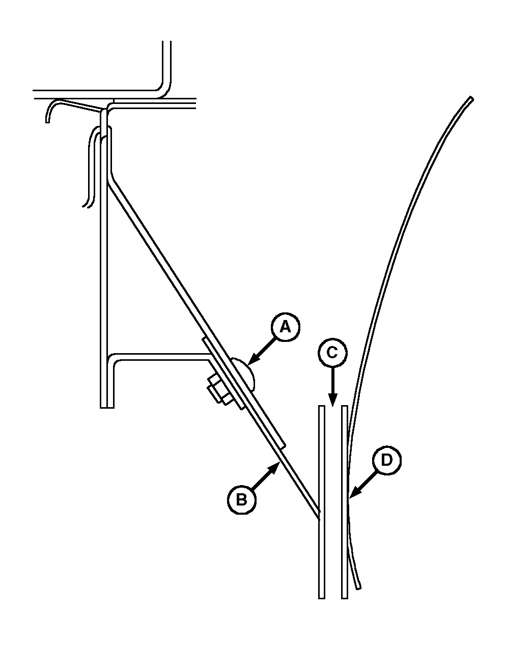
Loosen bolts (A) holding seal (B) to cylinder front door.

Position seal to 12 mm (0.47 in.) (C) between seal and rasp bar (D).

Tighten bolts.


A-Bolts
B-Seal
C-12 mm (0.47 in.)
D-Tip of rasp bar

H59578

AG,OUZXMAY,340 -19-24NOV99-1/1