Replacing Spike-Teeth and Checking Clearance

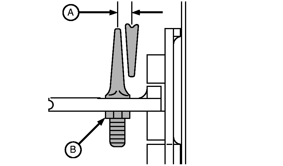
With concave in high position and teeth straightened, there must be equal clearance (A) on either side as they pass through the concave teeth.

Replace worn and broken cylinder and concave teeth immediately. Carefully drive new teeth in with hammer and wooden block.

Torque nuts (B) to specification.

Specification

Nuts (B) -Torque 61 N·m (45 lb-ft)

H59652

AG,OUZXMAY,344 -19-27NOV99-1/1