Splitting and Chopping (Optional Equipment)

causym CAUTION: It is vitally important to remove the cross-strips before harvesting corn, sunflowers and crops with high straw content or tough straw such as beans and rape.

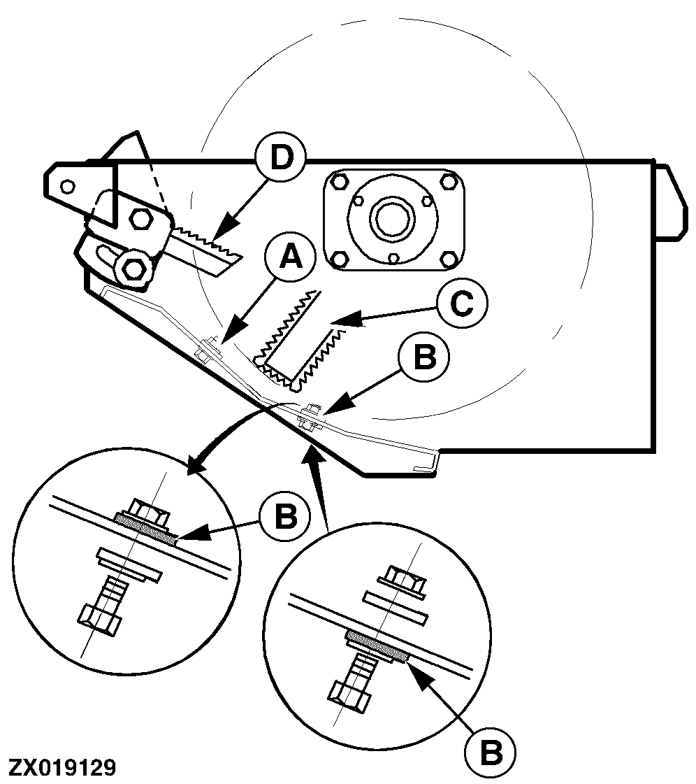
For a better chopping effect, it is possible to equip the chopper with serrated knives and cross-strips.

Cross-strip (A) is fitted before leaving the factory and serves as the first splitting stage.

For better splitting effect, a second cross-strip (B) may be installed. Order this second cross strip (B) from your John Deere dealer.

Set the cross-strips close to rotating knives (C). Rotating knives (C) must never come in contact with the cross-strips.

Pivot the counter knives (D) to suit the type of material being chopped.

ZX019129


A-Cross-strip
B-Cross-strip
C-Rotating Knife
D-Counter-knife

AG,OUZXMAY,365 -19-27NOV99-1/1