Header Height Control

Header Height Control allows the operator to select the position of the header relative to the ground, follow the ground contour, and return to that position automatically.

The Header Height Control system must be calibrated for each header that is used with the combine, see section Calibration Procedures.

Activation buttons 1, 2 and 3, located on the multi-function lever, can be used for selecting three different header heights.

NOTE: If both Header Height Control and Resume to Cut are enabled, activation button 1 will activate Resume to Cut. Activation buttons 2 and 3 will be assigned to Header Height Control.

The header height is controlled via the potentiometers on the cutting platform skids when in the range 0-250 mm (0-9.84 in.).

Operation:

Header Height Control mode can be activated only when:

1. A properly equipped header is connected to the combine
2. The engine is running
3. The road safety switch is in the field position
4. Header Height Control mode is enabled
5. The header engage switch is engaged


1-Activation Button
2-Activation Button
3-Activation Button

ZX018974
ZX021835

OUZXMAG,000076E -19-05SEP00-1/2


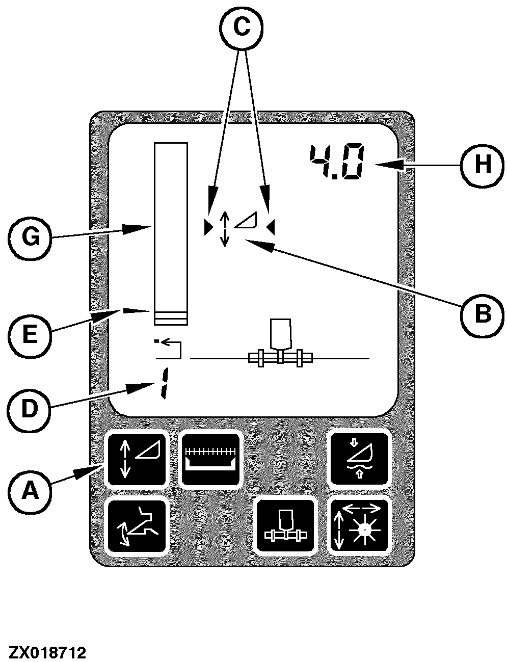
The Header Height Control system is enabled by pressing switch (A) on the corner post display unit. The Header Height Control symbol (B) will appear on the display.

Activate the Header Height Control system by pressing one of the activation buttons 1,2 or 3 on the multi-function lever. Arrows (C) on each side of the symbol indicate that the system is active.

The number (D) in the lower left corner of the display indicates which activation button was pushed.

If you wish to change the height setpoint (E) of any of the activation buttons, press the desired activation buttons and adjust the height using the height control dial (F) to move the height setpoint and to move the header up or down.

Turning the dial towards the (+) symbol will raise the header. Turning the dial towards the (-) symbol will lower the header.

Bar graph (G) and number display (H) show the position of the header, based on the height sensor on the header.

Manually raising the header with switch (I) on the multi-function lever will turn off the Header Height Control function.

Pressing any of the activation buttons will re-activate the system and the header will move to the selected height.

The Header Height Control system can be disabled by pressing switch (A).


A-Header Height Control Switch
B-Header Height Control Symbol
C-Arrows
D-Display Number
E-Height Setpoint
F-Height Control Dial
G-Bar Graph
H-Number
I-Header Raise/Lower Switch

ZX018712
ZX021840

OUZXMAG,000076E -19-05SEP00-2/2